future Profile
future

@tesla_fsd_

Followers
2K
Following
5K
Media
423
Statuses
8K

테슬라(TSLA) 장기투자자 / 일론은 최고의 엔지니어이자 기업가라고 생각합니다. 잡다한 팁이나 잡동사니(화제,이슈) 올리는 것도 관심 많아요. 맞팔 환영합니다 😁

Joined December 2017
Don't wanna be here? Send us removal request.
@tesla_fsd_
future
20 days
🚨필독 테슬라 양도세 관련 청원 진행중 아래 링크에서 3월 12일까지 진행 중입니다 많은 참여 부탁드립니다 동의는 제일 아래 보시면 동의하기(빨간색 동그라미) 부분 눌러서 해주시면 됩니다 https://t.co/peqBpCJ2Gv
@tesla_fsd_
future
27 days
🚨필독 테슬라 주주는 무조건 스페이스X와 테슬라 합병시 자동으로 양도세가 발생할 수 있기 때문에 관련된 청원글로 올라온 글인데 현재는 100명이 달성되어 1차는 끝났고, 약 7일 뒤(대략 2월 14일) 시작되는 2차는 30일동안 5만명의 동의를 얻어야 법 개정 논의가 시작된다고 합니다 테슬라와
88
108
263
@tesla_fsd_
future
23 minutes
최근에 제로밴에 걸리고 나더니 풀리고 나서도 노출수가 굉장히 급감해버렸네요. 그록에 물어보니 가장 정확한 방법은 48~72시간동안 재게시, 인용, 댓글, 게시글을 남기지 않는것이 가장 좋다고 하네요. 좀 당분간 쉬어야 하나 ��니다.😭
0
0
1
@tesla_fsd_
future
4 hours
🇰🇷 한국수입자동차협회(KAIDA)에 따르면, 테슬라가 2월 수입 승용차 시장을 장악했습니다 🏆 테슬라는 7,868대의 등록 대수를 기록하며 이달 전체 수입차 등록 대수의 73%라는 놀라운 비중을 차지했습니다 🔥 테슬라 모델 Y가 변화를 주도했으며, 프리미엄 트림이 5,275대, 롱레인지 모델이 1,740대
@tslaming
Ming
9 hours
GOOD NEWS 🇰🇷 According to the Korea Automobile Importers & Distributors Association (KAIDA), Tesla dominated the imported passenger car market in February 🏆 With 7,868 vehicles registered, Tesla accounted for a staggering 73% of all imported car registrations for the month 🔥
1
1
3
@tesla_fsd_
future
11 hours
📰 올해 2월, 테슬라는 유럽 15개 주요 시장에서 전년 대비 10% 증가한 17,425대의 차량을 등록했습니다 🔥 이는 테슬라가 유럽에서 1년 넘게 만에 처음으로 기록한 유의미한 전년 대비 판매 성장입니다 🔥 가장 빠르게 성장한 국가는 🇵🇹포르투갈(+112%), 🇪🇸스페인(+74%), 🇩🇪독일(+59%), 그리고
@tslaming
Ming
12 hours
GOOD NEWS 📰 In February this year, Tesla registered 17,425 vehicles across 15 major European markets, representing a 10% year-on-year increase 🔥 This marks Tesla's first significant year-on-year sales growth in Europe in over a year 🔥 The fastest-growing countries were
0
0
3
@tesla_fsd_
future
11 hours
생산 라인에서 제작 중인 신형 테슬라 세미
@SawyerMerritt
Sawyer Merritt
12 hours
New Tesla Semi being built on the production line.
0
0
1
@LayeredInvest
레이어드
12 hours
테슬라, 첫 FSD 유료 광고 시작 $TSLA
@Tuggernutz87
Tugg Speedman
13 hours
Facebook ads for FSD @wholemars
39
84
370
@tesla_fsd_
future
12 hours
🚨 테슬라 사이버캡이 현지 번호판을 달고 캘리포니아에서 포착되었습니다 🇺🇸 $TSLA 사이버캡은 현재 미국 6개 주에서 총 33대의 차량으로 테스트를 진행 중입니다.
@tesla_archive
Tsla Archive
14 hours
🚨 TESLA CYBERCAB SPOTTED IN CALIFORNIA WITH LOCAL LICENSE PLATE 🇺🇸 $TSLA The Cybercab is currently being tested in six U.S. states with a total of 33 units
0
0
2
@tesla_fsd_
future
13 hours
9개 연속으로 맞춘 건 정말 충격이다. 이번에도 맞을 확률이 높지 않을까? 누구지? 미국의 내부자인가?
@hangul
𝐉.𝐂𝐫𝐞𝐰
14 hours
정치 이슈 베팅 사이트에서 9만 달러를 번 사람. 베네주엘라 마두로, 멕시코 마약왕, 이스라엘 이란 전쟁 등 최근 9개 사건 다 맞게 예측함. 이번에는 미 지상군이 이란에 진입한다는데 베팅했다는데 😱😱
0
0
2
@tesla_fsd_
future
13 hours
🚨뉴스: xAI, 멤피스 인근 데이터 센터에 6억 5,900만 달러 규모 확장 계획 이 회사는 콜로서스 2(Colossus 2) 데이터 센터 옆 79에이커 부지에 312,000평방피트 규모의 건물을 건설하기 위한 허가를 신청했습니다.
@muskonomy
Muskonomy
14 hours
🚨NEWS: xAI plans a $659 m expansion at its data center near Memphis The company filed a permit to build a 312,000 sq ft building on a 79-acre site next to the Colossus 2 data center
0
0
2
@Kenmaeda77
前田謙一郎 Ken Maeda
15 hours
Tesla's FSD driving through the crowded area in front of Shinjuku Station in Tokyo. Now the only thing left is how well it can learn Japan’s unique traffic rules. They are aiming to get approval by the end of this year.
23
89
477
@tesla_fsd_
future
13 hours
저는 이런 거 신경 안 썼습니다. 오히려 주변 사람들한테도 종이청첩장 말고 그냥 모바일 청첩장 보내라고 했죠. 모바일 청첩장이나 그냥 종이 청첩장이나 똑같은 거죠. 어차피 장사치들이 돈 벌어먹기 위한 수단일 뿐 이런 거 신경 쓰는 어른분들 정도, 친인척 그리고 격식 차려야 되는 사람 정도만
@TBJorry
쪼리
1 day
10년 지기 친구 15000원 축의금 후기 해당 친구 결혼식에는 30만원 줬는데, 모바일청첩장으로 보냈다는 이유로 서운한 마음에 15000원. 진짜 너무하네요 😡
0
0
1
@tesla_fsd_
future
13 hours
할아버지. 이 정도 드롭킥 날리시는 정도면 노약자 아니에요.
0
0
1
@tesla_fsd_
future
13 hours
무슨 말도 안 되는 소리를 차가 속도를 빨리 간 것도 아니고 천천히 갔는데 이거를 가다가 아기가 와서 갑자기 부딪히는데 이게 차주잘못이라고? 나도 애아빠지만 이건 아니지. 엄마 아빠가 아이 관리를 못한거지. 차도 근처로 저렇게 갈거면 엄마 아빠가 케어를 했어야지. 아이가 저렇게 갑자기
@Younglee88
영리
1 day
차로 돌진한 아이… 차가 잘못했다는 장영란 저도 아이가 있지만 정신없다고 손을 왜 안잡고 다녀 차가 저렇게 많은데? 차가 어떻게 피했어야 했나요?
0
0
2
@hangul
𝐉.𝐂𝐫𝐞𝐰
14 hours
아제르바이잔 대통령, 이란에게 통수 맞았다고 발표. 이란이 아제르바이잔에게 레바논에 있는 대사관 직원들을 대피시킬 수 있도록 도움을 요청해 와서 비행기까지 준비해 줬지만, 이란은 드론 공격으로 공항을 폭격하는 배은망덕한 행위를 저질렀다고 함
@nexta_tv
NEXTA
24 hours
President of Azerbaijan Aliyev commented on Iran's drone strikes on Azerbaijan: "We are ready to demonstrate our strength against any malicious force, and let them not forget this in Iran. This terrorist act they committed, along with all other vile factors, is a clear example
9
27
62
@tesla_fsd_
future
20 hours
🚨 ARK 인베스트먼트 매니지먼트가 $TSLA에 대한 확신을 두 배로 높이고 있습니다 🔥 최신 13F 공시에 따르면, ARK는 3분기 동안 테슬라 지분을 16.6% 늘리며 포트폴리오의 '왕관 보석'으로서의 입지를 더욱 공고히 했습니다. 수치 요약 🏎️ 총 보유 주식 수: 3,589,622주 ➕ 신규 추가 주식:
@tslaming
Ming
1 day
GOOD NEWS 🚨 ARK Investment Management is doubling down on its conviction in $TSLA 🔥 According to its latest 13F filing, the firm increased its stake by 16.6% during the third quarter, solidifying Tesla as the crown jewel of its portfolio. The numbers at a glance 🏎️ Total
0
2
6
@tesla_fsd_
future
21 hours
속보: 이란, 호르무즈 해협을 폐쇄할 "의도가 없다"고 밝혀
@Kalshi
Kalshi
21 hours
JUST IN: Iran says they have "no intention" to close Strait of Hormuz
0
0
1
@tesla_fsd_
future
21 hours
비가 내리는 오늘 아침, 기가 텍사스에서 더 많은 사이버캡(Cybercab)의 움직임이 포착되었습니다! 최근 현장에서 25대가 목격되었는데, 이제 다음 용도를 위해 이동되었습니다. 15대는 충돌 테스트장에, 4대는 공장 출구 지점에 있으며, 나머지는 덮개가 씌워진 운송 차량에 실리고 있습니다.
@JoeTegtmeyer
Joe Tegtmeyer 🚀 🤠🛸😎
23 hours
More Cybercab action at Giga Texas on this rainy morning! We recently saw 25 on site and now they have been moved for their next use, with 15 at Crash Testing, 4 at the factory exit point and the rest being loaded up on covered transports, possibly headed out to do more @Robotaxi
0
0
2
@tesla_fsd_
future
21 hours
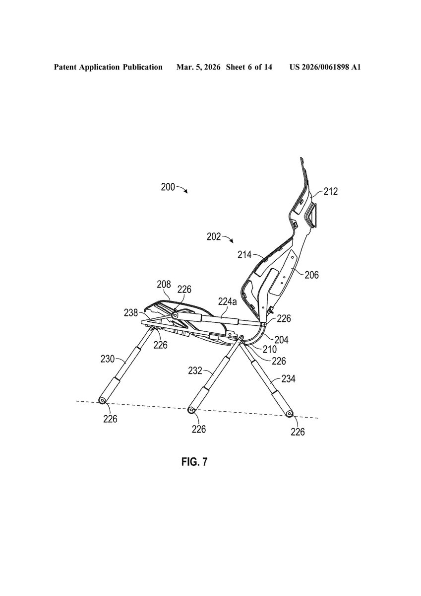
🚀 테슬라 차세대 로드스터를 위한 일체형 복합소재 시트 프레임 특허 분석 2026년 3월 5일 공개된 테슬라의 새로운 특허(US20260061898A1)는 4월 1일 공개 예정인 차세대 로드스터와 미래 전기차의 핵심 기술을 담고 있습니다. 기존 수십 개의 금속 부품 대신 단 하나의 연속된 복합소재 프레임으로
@seti_park
SETI Park
1 day
🚨TESLA PATENTS A ONE-PIECE COMPOSITE SEAT FRAME FOR ITS NEXT VEHICLES The next-generation @Tesla Roadster is set for its April 1 unveil. But what will the seats look like in a $200,000 electric supercar that promises sub-2-second acceleration? A patent published today, March
0
0
2
@tesla_fsd_
future
1 day
🇭🇰 테슬라가 2월 홍콩 시장에서 1,001대의 차량을 인도하며 시장을 장악했습니다 🔥 모델 Y와 모델 3는 해당 월의 베스트셀링 카 부문에서 각각 1, 2위를 차지했습니다 🔥
@tslaming
Ming
1 day
GOOD NEWS 🇭🇰 Tesla dominated the Hong Kong market in February with 1,001 vehicles delivered 🔥 The Model Y and Model 3 claimed the top two spots for best-selling cars during the month 🔥
1
1
3
@danmusk
Dan Musk
1 day
중국의 성장은 절벽에서 떨어지고 있음. 중국 공산당(CCP)은 공식 성장률 목표를 4.5%~5%로 발표했음. 이는 지난 30년 동안 중국의 가장 낮은 성장률 목표임. 동시에, 에너지 공급 측면에서 베네수엘라와 이란이 사실상 체스판에서 빠지면서, 중국은 자국 경제를 유지하는 데 필요한 원자(atoms)—즉
@chamath
Chamath Palihapitiya
1 day
Chinese growth is falling off a cliff. The CCP just announced its official growth target of between 4.5% and 5%. This is the lowest growth in China in 30 years. At the same time, with Venezuela and Iran off the chess board wrt energy supply, they are increasingly challenged
1
5
36
@tesla_fsd_
future
1 day
🚨뉴스: 결제 기업 Shift4, xAI와 파트너십 체결 이 기업은 고객 서비스 및 쇼핑 경험을 개선하고 장바구니 이탈률을 줄이기 위해 xAI 도구를 사용할 예정입니다. Shift4는 2025년 4분기 매출이 50% 증가한 6억 1,000만 달러, 순이익은 60% 증가한 5,300만 달러를 기록했다고 발표했습니다.
@muskonomy
Muskonomy
1 day
🚨NEWS: Payment company Shift4 partners with xAI The company will use xAI tools to improve customer service, shopping experiences and reduce cart abandonment Shift4 reported $610M revenue in Q4 2025, up 50%, with $53M net income, up 60%
0
0
1