Explore tweets tagged as #hdmaps
@AdastecCorp
ADASTEC Corp.
3 years
Exciting sneak peek of ADASTEC Corp.'s cutting-edge https://t.co/h1knd4DxrF tech in action! πŸš€ Our HD Maps are revolutionizing real-time environment understanding with unparalleled accuracy. πŸŒπŸ—ΊοΈ #HDMaps #Stavanger #automatedbus
0
3
8
@PatentPulse
Interesting Patents
1 year
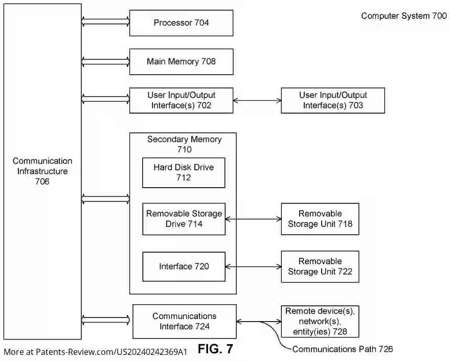
New patent ap. #US20240242369A1 by #FORD introduces a system for fast point cloud registration to enhance localization in HD maps for autonomous vehicles. It uses lidar data and ICP algorithms for precise positioning. #AutonomousVehicles #LiDAR #HDMaps #automotive
0
1
1
@motorindiatweet
MOTORINDIA
20 days
#Genesys advances safer, smarter mobility with India’s first large-scale HD navigation maps for ADAS, covering 1+ lakh km of highways, expressways and key corridors under its New India Map stack. π‘πžπšπ 𝐌𝐨𝐫𝐞: https://t.co/02V2UTkwkm #HDMaps #ADAS #SmartMobility
0
0
0
@ai_bites
AI Bites | YouTube Channel
2 years
Autonomous vehicles are gradually entering city roads today, with the help of high-definition maps (HDMaps). The performance of online HDMap construction algorithms is unsatisfying. P-MapNet incorporates map priors to improve model performance by exploit priors in both SDMap and
1
1
1
@EcopiaAI
Ecopia AI
3 years
Check out this gallery that showcases innovative ways by which government agencies leverage geospatial data for stormwater analysis and impervious surface mapping. #StormwaterMapping #StormwaterManagement #ClimateResilience #NetZero #Sustainability #AI #HDMaps 🧡
1
0
0
@NLeBlanc_
Nicole LeBlanc
2 years
Excited to see @GoGeoMate and get the latest update from them @IAAmobility #IAA23 #mobility #HDmaps #urbandata
0
2
5
@iMeritDigital
iMerit Technology
3 years
Check out our blog, where we discuss the importance of #HDmaps in autonomous driving, advances in technology, such as drone mapping, and why experts-in-the-loop to develop these maps will offer a significant competitive advantage. Read now: https://t.co/39u4jBzLDR #mapping
0
1
4
@NickShanghai1
Nick
9 months
#xpeng dropped #lidar already and now they are dropping #HDmaps. Using cameras is just like using our eyes. More and more EOMs following #tesla, even before they all criticized @elonmusk's decision. #xpengglobalbrandnight #adas #FSD #autonomousdriving
1
0
5
@vantortech
Vantor
2 years
Mapping is in our DNA. Only Maxar offers the right combination of resolution, frequency and scale needed for global mapping applications: https://t.co/XbIfaraSD8 #mapping #HDmaps #navigation #mobility
3
3
18
@dariodenni
dariodenni
3 years
il futuro del #trasporto nei prossimi 10y si basa sul #platooning ovvero un sistema di #sensori e #hdmaps che scambiano informazioni su #edgeservers in una rete #5gNR #howdidwegetintothismess
0
0
0
@CCAM_EU
Connected, Cooperative & Automated Mobility (CCAM)
3 years
#CCAM session happenning now at #FIRM23 in Brussels with one of CCAM Partnership projects @AugmentedCCAM - how can #infrastructure enable connected or even automated mobility and transport? #connectivity #sensors #lanemarkings #HDmaps #DigitalTwins
0
5
13
@getnexar
Nexar
2 months
HD maps built by cars, not fleets. Nexar Live HD Maps uses dashcam data to detect road changes in real time. πŸ“ Tokyo pilot: 1,773 new signs, 70%+ recall, 3M+ frames analyzed. Turning daily drives into live, high-precision maps. Read more: https://t.co/WxliEwISfJ #HDMaps
0
0
0
@NioStrats
Nio
2 years
Do your DD, $NIO built custom tools on Tencent platform for NOP+ HDmaps near 20 months since this post, easier to port tools to build NAD Lane2.0 vs starting from scratch on anther platform. #NIO sign deal w/ Tencent Nov2022, no doubt discussions were for months prior to signing
@NioStrats
Nio
2 years
$NIO #NIO used #Tencent custom tools to build #NioPilot NOP+ for HD Maps, &can use tools to build NAD Line2.0 AI can be used to build quality vehicles, boost management efficient & productivity. Self-driving cars can generate 8TB-32TB of data every 8hrs of driving
0
1
12
@NioStrats
Nio
2 years
$NIO #NIO will eliminate HDmaps for NAD Lane2.0 NAD(Nio Autonomous Driving) reach 38,100 PetaOPS of computing power for fleet of group intelligence systems, shift NOP+ from HD maps, real time vision based mapping
@NioStrats
Nio
2 years
next-gen static-aware network, NAD Lane2.0, sense intersection info real time, eliminate need for HD maps NAD(Nio Autonomous Driving) reach 38,100 POPS comput power for fleet of group intelligence systems, shift NOP+ from HD maps, evolve real time Source: https://t.co/XNeL3OuVtH
0
6
25
@Genesysmaps
Genesys International Corporation Ltd.
2 years
Exploring the Road to Enhanced Driving: Meet Team ADAS and Team HD Maps. Join us as we dive into the future of driving, where safety, efficiency, and a better driving experience are the goals. #ADAS #Autonomousdriving #Safety #Maps #HDMaps
0
0
1
@MandliCom
Mandli Communications
3 years
There is no other data solution provider in the galaxy with Mandli experience....we are absolutely sure! #lidar #assets #pavement #visualization #HDMaps
0
0
1
@GoGeoMate
GeoMate
2 years
We're excited to be exhibiting this week at the 8th Annual Autotech Council Science Fair in Silicon Valley! We can't wait to share with everyone how GeoMate is bringing a unique and innovative approach to #UrbanMobility. See you there! #HDmaps #AV #LastMileDelivery #AutoTech
0
0
2
@GoGeoMate
GeoMate
2 years
Just two more weeks and we'll be in #SanFrancisco attending #MicromobilityAmerica2023. It's going to be a great opportunity to meet those in the industry & learn more about all things #Micromobility. Hope to see you all there! #EScooters #HDmaps #UrbanPlanning
0
0
0