Explore tweets tagged as #Openwave
@owvmedia
Openwave Media
3 months
Openwave Media
0
2
10
@Lumine_Group
Lumine Group
4 months
Over a year ago, Lumine Group acquired Openwave Messaging as part of a carve-out transaction. Openwave, a provider of white-label email and advanced messaging solutions, helps telecom operators and brands deliver secure, branded communication experiences — from subscriber email
2
3
32
@owvmedia
Openwave Media
19 days
New client announcement! 🌊 @cuffem @cuff3m
11
6
208
@owvmedia
Openwave Media
13 days
October ➡️ Channel's highest performance to date. Steady growth, consistent output, and continued momentum. Proud of the progress we’re building with @raudxgeezz 🌊
2
1
6
@PatentArtBot
Patent Bot
2 years
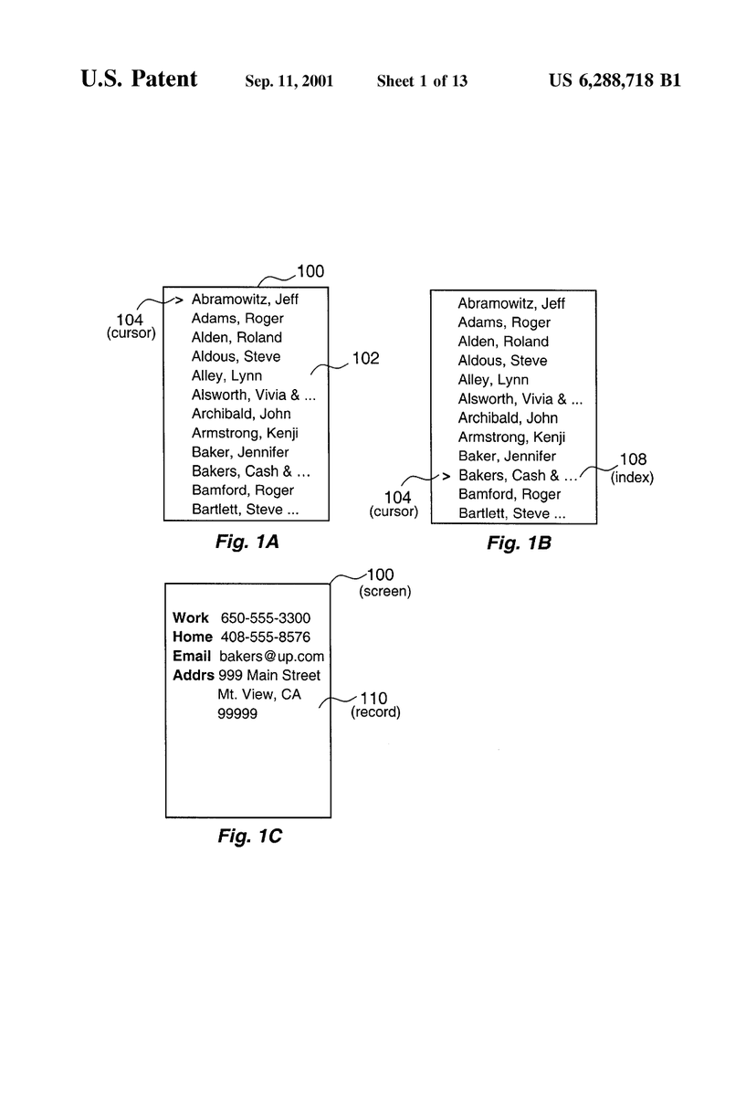
Scrolling method and apparatus for zoom display Owned By: Openwave Systems Inc Patent Number: US6288718 https://t.co/gnFIwDKkLD
1
0
0
@Gs2Ch
=?utf-8?B?44Gv772E772T772O?=
1 year
@mishiki なんというかまあ、JISロゴは顔郵便マーク同様にいろいろと問題のある符号化のようで。実際EZweb絵文字由来のOpenwaveやKDDIの商標に係る各ロゴマークも事実上符号化されてませんし 悪い意味でお気に入りの文字 〠〄 | ++C++; // 未確認飛行 C ブログ https://t.co/uU9D3hDfHK .
0
2
5
@UC_connectors
Universal Connectivity
7 months
We are thrilled to announce that Dave Mulhern has joined our team to exclusively represent Universal Connectivity as our new Strategic Account Representative. Dave brings extensive experience from industry leaders such as Nortel, Openwave Systems, Cisco, BroadSoft, and Five9.
0
0
0
@mouseio
Ελληνικό Μουσείο Πληροφορικής
5 months
Πίσω στο 1999. Ήμασταν ενθουσιασμένοι γιατί μόλις είχαμε αγοράσει το πρώτο κινητό με wap - το Nokia 7110 - και περπατούσαμε στο δρόμο έχοντας στοιχειώδεις υπηρεσίες διαδικτύου. Διαβάστε περισσότερα: https://t.co/jB3x6c8Woh
6
9
100
@Umoren__
Idongesit Umoren_TechSissy
1 year
1. Register here: https://t.co/LOuT2gml6X 2. Invite friends. 3. Buy new kicks 👟 4. Come with your babe. 5. See you at the venue. #Chain2055 #Solana #bloctizen #openwave
4
5
22
@mfsoundnet
MFSound Media / DPR Audio & Art
2 years
Added to Space Night (Ambient - Chillout - Electronica) on Spotify: "Brouillard" by opeNWave https://t.co/xxC1SYj77m follow the playlist on #Spotify https://t.co/ux45lXxJVC #Ambient #Electronica #Psybient #Electronicmusic #experimental #laidback https://t.co/mp1nVmWCw3 l…
0
0
2
@heyfony_
Fony
1 year
Blockchain is revolutionizing the world, and #Chain2055 is where it all comes together. Join visionaries, developers, and enthusiasts in Nigeria as we explore the future of @solana and blockchain technology. Register here: https://t.co/Nc1xDN399a… #Solana #Chain2055 #OpenWave
0
0
7
@avkh143
Alex
2 years
$6.4bn merger of https://t.co/CRGBa1czw7 & https://t.co/V9eZw1Algo in 2000 created a company which was poised to conquer two huge growth areas: the delivery of wireless Web applications and unified messaging. The merged company was renamed to Openwave Systems.
1
0
0
@jayloffs
Jaylo
3 months
officially launching "Openwave Media" (@owvmedia ) Founded by me & @v8dit We focus on all things media. We’re looking for dedicated creatives to join the wave🌊
2
0
11
@GreenPepperNL
GreenPepper
1 year
NIEUWE INTERIM OPDRACHT! Functioneel Beheerder openwave Bij de OD NHN gaan we altijd constructief en voorkomend te werk. https://t.co/oAHgLvnWFH
0
0
0
@jeteindonesia
JETE INDONESIA
9 months
Kenapa sih harus punya JETE OpenNeo & JETE OpenWave?🤔
1
0
0
@Cvanderkamp
Christiaan van der Kamp
2 years
Vandaag een congres over informatievoorziening en data bij Omgevingsdienst Rivierenland. Met als thema de ontwikkelingen rond Openwave. Openwave is een opensource zaaksysteem voor omgevingsdiensten. Op de voorgrond de uitgeprinte sourcecode. Gelukkig gewoon te downloaden. @odhl
0
0
3
@carbon_robotics
Carbon Robotics
6 months
We are excited that tech industry leader Don Listwin has joined our board as lead independent director. Known for his leadership roles at Cisco and Openwave, Don brings expertise in global growth, M&A, applied AI, and public board leadership. Learn more:
0
0
3
@RakeshSFNYC
Rakesh Agrawal
3 years
@rsummer @stevesi Openwave wasn’t telco owned, right?
3
0
0