Explore tweets tagged as #MemoryManagement
@master_backend
Mastering Backend
29 days
JVM memory structure is divided into areas like Heap, Stack, Method Area, PC Register, and Native Method Stack. Heap is where objects live, divided into Young, Old, and Permanent Generations (or Metaspace), with garbage collection managing space. #Java #JVM #MemoryManagement
0
7
23
@PatentPulse
Interesting Patents
2 days
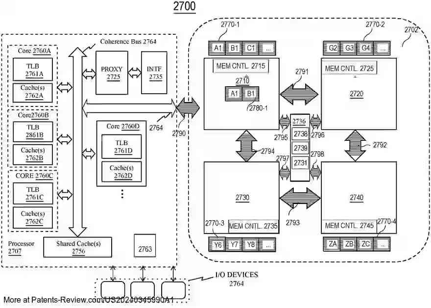
๐Ÿš€ New patent grant alert: #US18610153B1 by #NVIDIA! Unified virtual memory management in heterogeneous systems like CPU & GPU aims to minimize redundant memory transfers. #MemoryManagement #HeterogeneousComputing $NVDA
0
0
0
@PranavG_23_
@pranav
22 days
๐Ÿ“… Day 50 โ€“ Complete DS, ML, DL & NLP Bootcamp ๐Ÿ”น Learned Memory Management in Python: โ€ข Understanding reference counting โ€ข Garbage collection mechanism โ€ข gc module basics โ€ข How Python handles memory internally #100DaysOfML #Python #MemoryManagement #LearnInPublic
3
0
13
@vivekgalatage
Vivek Galatage
9 months
A website about memory management - quite literally! https://t.co/9lRNBhsVeu
3
84
655
@shirakaba3
็™ฝๆจบใ•ใ‚“ใ€๐Ÿ’ฉใ€‘
2 years
ๆ–ฐๅนดๆ—ฉใ€…ใ€MemoryManagementใ‚จใƒฉใƒผใงใƒ–ใƒซใ‚นใ‚ฏๅคš็™บใ™ใ‚‹ใ‚ˆใ†ใซใชใฃใŸใฎใง ใƒ‰ใ‚ญใƒ‰ใ‚ญใ—ใชใŒใ‚‰Memtestใ‚’ๅ›žใ™ใ€‚
0
0
7
@openEuler
openEuler
2 years
The #LinuxKernel Session at #openEulerSummit 2023 was a real blast, where #opensource enthusiasts shared the latest tech and practices of #Linux #kernel. #AI #openEuler #OS #eBPF #cloudnative #memorymanagement #IO #storage #filesystem
0
2
3
@thehackerslabs
Thehackerslabs
3 months
๐Ÿ” ยฟQuรฉ es un Buffer Overflow? Explicaciรณn clara y rรกpida para profesionales de la ciberseguridad https://t.co/nlvTnq2nHe ๐Ÿ” #Ciberseguridad #BufferOverflow #Hackingร‰tico #Infosec #ExploitDevelopment #SeguridadInformรกtica #CyberSecurity #DevSecOps #MemoryManagement #SecureCodin
0
3
5
@eeengineer777
eeengineer
1 month
Linux Memory: Beginner-friendly guide to virtual memory in Linux. Learn how paging, MMU, and process isolation improve efficiency, stability, and security. Read here ๐Ÿ‘‰ https://t.co/QMdODilMOo #Linux #MemoryManagement #VirtualMemory
0
1
1
@Magaraja_
๐Ÿ‘‘Maga๐Ÿ”ธ
4 months
๐Ÿง  Stack vs Heap in one glance! Here's how function calls & object references are stored in memory ๐Ÿ‘‡ ๐Ÿ”ธ Stack โ†’ method calls, local references ๐Ÿ”ธ Heap โ†’ actual object & data #MemoryManagement #StackVsHeap #SystemDesign #Programming #Cplusplus #Java
0
0
2
@PatentPulse
Interesting Patents
1 year
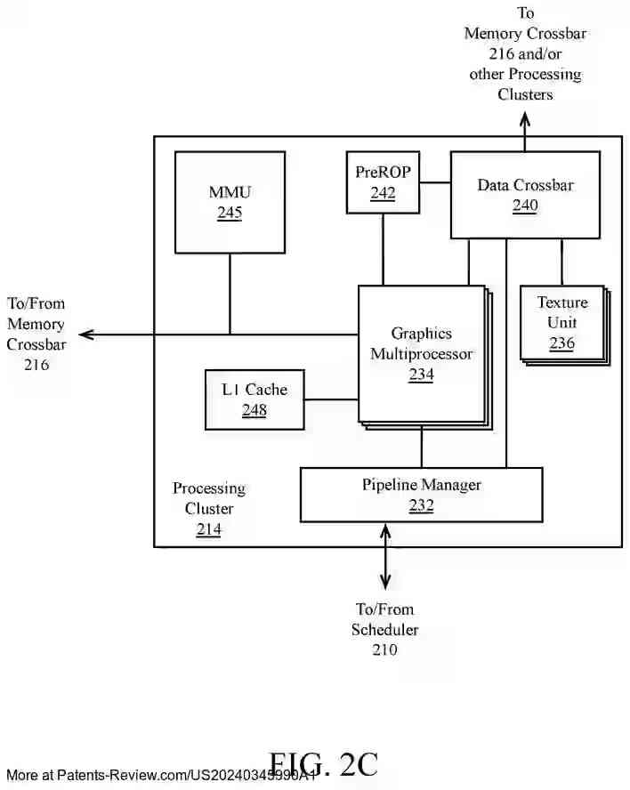
New patent appl. #US20240345990A1 by #Intel reveals advanced #MultiTile #MemoryManagement for detecting cross-tile access & scaling inference. It enhances data transfer in multi-GPU setups using page migration & multicasting. $INTC #GraphicsProcessor
0
0
0
@alieGotha
Kate Glushenko
8 months
Can my Redis sorted sets join a minimalist club, or do I need to teach them myself? Source: https://t.co/9Xn8gXb4XS #MemoryManagement #CodingTips #MemoryOptimization #RedisOptimization #memoryusage #memory
0
2
7
@analyticsinme
Analytics Insight
1 year
๐—ช๐—ต๐—ฎ๐˜ ๐— ๐—ฎ๐—ธ๐—ฒ๐˜€ ๐—๐—ฎ๐˜ƒ๐—ฎ ๐—˜๐—ฎ๐˜€๐—ถ๐—ฒ๐—ฟ ๐—ง๐—ต๐—ฎ๐—ป ๐—–++? https://t.co/O8hWQRao7o #Java #MemoryManagement #Syntax #AI #AINews #AnalyticsInsight #AnalyticsInsightMagazine
0
0
2
@DaraOladapo
Dara Oladapo
8 months
๐Ÿš€ Want to optimize your C# applications? Let's dive into memory management! Hereโ€™s a quick thread on the essentials you need to know! ๐Ÿงต๐Ÿ‘‡ ๐ŸŽฏ Master memory management to build high-performance C# applications! #CSharp #MemoryManagement #PerformanceOptimization #DotNet
1
0
0
@PatentPulse
Interesting Patents
6 months
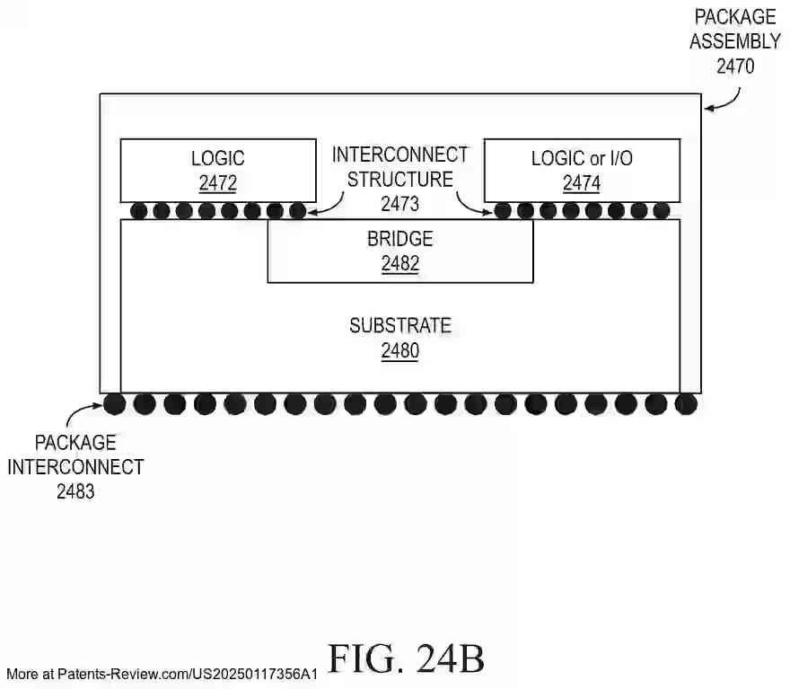
#Intel's new patent application #US20250117356A1 unveils methods for #MultiTile #MemoryManagement. It describes a #GraphicsProcessor with an interposer linking chiplets, enhancing #Cache & #MemoryController efficiency for high-bandwidth memory access. #INTC
0
0
0
@realDotNetDave
David McCarter (Microsoft MVP)
2 years
๐Ÿ” Uncover the hidden pitfalls of IDisposable objects in #dotNET code! Learn how to prevent memory leaks and ensure proper cleanup with expert insights from dotNetDave. Check out the article here: https://t.co/Ii7X3PGXAW #Programming #MemoryManagement #CodingTips #MVPBuzz
0
0
2
@droid_singh
Amanjeet Singh
2 years
Visualizing retain cycles in iOS with class 'Belt' ๐Ÿง‘โ€๐Ÿ’ป: - Obj D & Obj E form a retain cycle, getting "stuck" on the Belt. - Imagine multiple of such cycles can ultimately block allocations, leading to OutOfMemory (OOM) errors! ๐Ÿšซ๐Ÿ’พ๐Ÿคฏ #SwiftLang #MemoryManagement #ios #dev
0
0
3
@analyticsinme
Analytics Insight
2 years
๐— ๐—ผ๐—ท๐—ผ ๐—Ÿ๐—ฎ๐—ป๐—ด: ๐—ž๐—ป๐—ผ๐˜„ ๐—˜๐˜ƒ๐—ฒ๐—ฟ๐˜†๐˜๐—ต๐—ถ๐—ป๐—ด ๐—”๐—ฏ๐—ผ๐˜‚๐˜ ๐˜๐—ต๐—ฒ ๐—ก๐—ฒ๐˜„ ๐—ฃ๐—ฟ๐—ผ๐—ด๐—ฟ๐—ฎ๐—บ๐—บ๐—ถ๐—ป๐—ด ๐—Ÿ๐—ฎ๐—ป๐—ด๐˜‚๐—ฎ๐—ด๐—ฒ https://t.co/7ZurUULREX #MojoLang #ProgrammingLanguage #Concurrency #MemoryManagement #WebDevelopment #AI #AINews #AnalyticsInsight #AnalyticsInsightMagazine
0
1
1
@DevGupta4526
Dev Gupta
1 year
Day 25 of #CodeDaily & #CoreSubjects ๐Ÿ’ป โœ… Solved the #LeetCode problem: Design a Stack With Increment Operation ๐Ÿ” In OS, learning about memory management Staying on track! ๐Ÿš€ #100DaysOfCode #LeetCodeChallenge #OperatingSystems #MemoryManagement #CoreSubjects #CodingJourney
0
0
19