Explore tweets tagged as #GraphicsProcessor
@lkyjimmy
りょうくんぎょく LEUNG Kwan Yuk 我願榮光歸香港
4 years
OperatingSystem:KDEneon5.24 KDEPlasmaVersion:5.24.3 KDEFrameworksVersion:5.91.0 QtVersion:5.15.3 KernelVersion:5.13.0-35-generic(64-bit) GraphicsPlatform:X11 Processors:16×AMDRyzen75700GwithRadeonGraphicsMemory:30.7GiBofRAM GraphicsProcessor:AMDRENOIR 5700g真香
0
0
0
@PatentPulse
Interesting Patents
1 year
New patent appl. #US20240345990A1 by #Intel reveals advanced #MultiTile #MemoryManagement for detecting cross-tile access & scaling inference. It enhances data transfer in multi-GPU setups using page migration & multicasting. $INTC #GraphicsProcessor
0
0
0
@PatentPulse
Interesting Patents
10 months
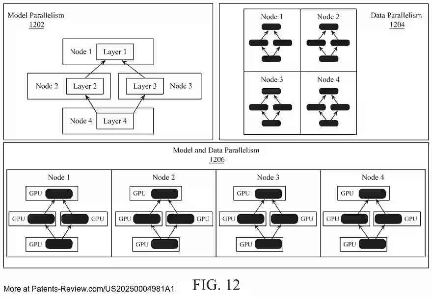
Discover how #Intel's new patent application #US20250004981A1 enhances #MultiTileMemoryManagement. It details a #GraphicsProcessor with an interposer linking chiplets, optimizing #CacheCircuitry & #MemoryAccess via a high-bandwidth memory device. $INTC #PatentInnovation
0
0
1
@PatentPulse
Interesting Patents
6 months
#Intel's new patent application #US20250117356A1 unveils methods for #MultiTile #MemoryManagement. It describes a #GraphicsProcessor with an interposer linking chiplets, enhancing #Cache & #MemoryController efficiency for high-bandwidth memory access. #INTC
0
0
0
@dailycadcam
DailyCADCAM.com
2 years
AMD Introduces Fastest AMD Radeon Laptop Graphics Ever Developed https://t.co/RIURHnm59D @amdradeon @AMD #graphicsprocessor
0
0
0
@realPurpleSoul
Purple Soul
2 years
So do you know what Google named their graphic processor? #evil #google #andrenochrome #graphicsprocessor #savethechildren #purplesoul https://t.co/CIDoaXitrf
0
0
1
@gr8wheels
W. H.
7 years
NVIDIA officially unveiled it's top-end consumer #GPU, the #TitanRTX. It has 72 Turing RT and 4,608 CUDA cores, up from 68 and 4,352, respectively, over the RTX 2080 Ti. #GraphicsProcessor with a whopping 24GB of #GDDR6 VRAM and packs a $2,500 price tag https://t.co/gh1Nafyk1A
0
0
0
@HiTechchic
Hi-tech Chic #Tech #Fashion #Lifestyle
6 years
NEW: Introducing @mClassic: the World’s First #PlugAndPlay #GraphicsProcessor To Launch on #Kickstarter. @nrpena https://t.co/aXQojgk6JE
0
2
1
@techinsightsinc
TechInsights
6 years
We recently published a digital floorplan analysis of the AMD 2V5-091400-00 graphics processor. Click to download the sample report https://t.co/iPuhNazs11 #floorplananalysis #graphicsprocessor #technology
0
0
0
@aarvexindia
𝘼𝘼𝙍𝙑𝙀𝙓
3 years
Aarvex Graphics Card. Faster on Gaming, Editing & Browsing. DDR3 GT730 4GB Graphics Card. #aarvex #gt730 #4gb #ddr3 #gaming #graphicscard #graphicsprocessor #speed #hdvisual #videoediting #rendering #smartfan #videooutput #clockspeed
0
0
0
@TechmobiIndia
Techmobi
6 years
10 जनेरेसन इंटेल कोर प्रोसेसर के साथ लेनेवो क्षियाओक्षिन एयर 14 2020 लैपटॉप हुआ लांन्च #TECHMOBI #lenovo #laptop #LENOVO XIAOXINAIR #graphicsprocessor #China https://t.co/JTGAIJnqsk
0
0
0
@Anson168Diamond
China Supplier, Purchasing Agent
2 years
#computing power, #equipment, #processor, #graphicsprocessor, #artificial intelligence chip, #artificial intelligence device, #GPU server, #data server, #FPGA, #AI accelerator, #hardware device, #TPU, #NPU, #storage device, #computing accelerator, #centralprocessing unit, #CPU,
0
0
1
@RoboTechVision
RoboTechVision
6 years
WE ARE UPGRADING THE BRAIN OF ANDROVER II🧠💡 Androver II is being upgraded with another #AI-box (powerful computer with a #graphicsprocessor built by our team). It will allow Androver II to run multiple #NeuralNetworks. The #robot will be able perform multiple tasks at one time.
0
0
0
@gms4sbc
GMS
6 years
Starting at under $10k, #GoldenEyeIV #S1202HS, ultra-rugged, low profile, lightweight #workstation #server #graphicsprocessor. Weight: 5lbs, dimensions: 6.5" x 5.4" x 2". View our datasheet #PDF #handyreference #ruggedserver #lowprofile #workstation #CPU https://t.co/jgiPYnOxHF
0
0
0
@TarapadaRoy9
Tarapada Roy
2 years
What's the Difference Between graphics processor vs graphics card? Exploring today's technology for tomorrow's possibilities. https://t.co/V6iSTWdjbe #graphicsprocessor #graphicscard #GPU
0
0
1
@Asayu123
Asayu
14 years
新型iPadのGraphicsProcessorがPSVitaと同じ物と聞いてびっくりしている。iPhone5は最新の家庭用ゲーム機をレンダリング性能で超えてくるか。
0
0
0
@mayragna
メイの人16歳
3 years
@mmx2 https://t.co/qsgSkKZaUt Photoshopで「グラフィックプロセッサー設定」がグレーアウトしてしまった場合の対処法 こういう問題ではない感じかな…?🤔
1
0
0