Explore tweets tagged as #IDWeek2022
@ABsteward
Antibiotic Steward Bassam Ghanem 🅱️C🆔🅿️🌟
3 years
Can we use Dual β-lactam? One example is Cefazolin and Ertapenem, a synergistic combination used in the treatment of persistent MSSA bacteremia CERT RCT ? Random slide shared by @LordAlirezaF in #idweek2022 , Mechanism 👇#IDTwitter
10
61
216
@edenhelmi
Helmi Sulaiman
3 years
Oral ampho-B (Encochleated) for Crypto meningitis -presented during @IDWeek2022 Trying to use this final week to view and download as many lectures as I can of the 2022 ID Week And this is a gem! @alif82 @SazaliBasri @HanzHc @shaharudeen @GSRajahram @Rasidah
2
27
51
@PaolaCarcamoRx
Paola Carcamo
3 years
Now everyone’s first thought is - Dose cidal or static activity matter? Short answer ➡️ No. Actually DAP does not achieve cidal activity in-vivo against E. faecium 🦠😬 Shout out to Dr. Navaneeth Narayanan in the myth busters session at #IDWeek2022 😍 7/
1
0
5
@ABsteward
Antibiotic Steward Bassam Ghanem 🅱️C🆔🅿️🌟
3 years
Combination Therapy in MRSA Bacteremia : Does it work, which combination, and for which patients? Random Slide from #IDweek2022 shared by @LordAlirezaF @snap_trial HOPE #IDTwitter
2
27
91
@kakule06
@microstories
3 years
How can I reach this presentation? @SadieRyan @klevy_uw @IDWeek2022
0
0
2
@edenhelmi
Helmi Sulaiman
3 years
Another gem from the @IDWeek2022 Management Reasoning for the ID Learner by Emily Abdoler @ummuafeera @SazaliBasri @HanzHc @suraya_sudenia @Rasidah @adammashraff @fikreeahmad Do PM/DM me if U want the slides
0
2
18
@IDSAInfo
IDSA
3 years
#IDWeek2022 registrants: Today is the last day to access sessions on-demand! To view sessions, visit: https://t.co/jz3UPE2iyX. Don’t forget to claim your continuing education credits by clicking the “Claim Your Credits” button: https://t.co/l7kasyDoqu
1
1
7
@IDSAInfo
IDSA
3 years
Experience it all, again! The #IDWeek2022 abstract book is now available: https://t.co/kf6I3DFeX9
0
0
5
@IDSAInfo
IDSA
3 years
#IDWeek2022 registrants: Access to sessions continues through March 31! To view sessions and claim your CME credits, visit https://t.co/oi8DdZ0x5E.
0
1
3
@chrishendel
Chris Hendel
3 years
Use of Carbon Dioxide Monitoring to Assess Ventilation at a National Infectious Diseases Conference via @CIDJournal https://t.co/FvjUeaKaIg "Here, we used #CO2 monitoring to assess #ventilation in settings encountered while traveling to and attending the @IDWeek2022 meeting."
0
3
4
@IDSAInfo
IDSA
3 years
Relive your IDWeek experience and cutting-edge science across multiple disciplines with the #IDWeek2022 abstracts, now available as a supplement to Open Forum Infectious Diseases: https://t.co/kf6I3DFeX9
0
0
7
@GaboMotoa
Gabriel Motoa, MD
3 years
Right before #IDWeek2022, I had a fracture in my ankle and thought I wouldn’t be able to 🏃‍♂️ my first 1/2 @RunMiami. Today, I’m very happy to achieve my first goal of 2023! Thanks to the Ortho and PT teams @UMiamiHealth, my family, and friends @UmJmhIMRes for their support!
2
2
48
@JosephMarcusID
Joseph Marcus
3 years
Here is Stone’s poster at @IDWeek2022 if you missed it
0
0
0
@IDSAInfo
IDSA
3 years
Case presentations from the #IDWeek2022 Fellows’ Day Workshop are now available! Create a free account to view cases: https://t.co/Jm8T9LGvfE
0
1
2
@edenhelmi
Helmi Sulaiman
3 years
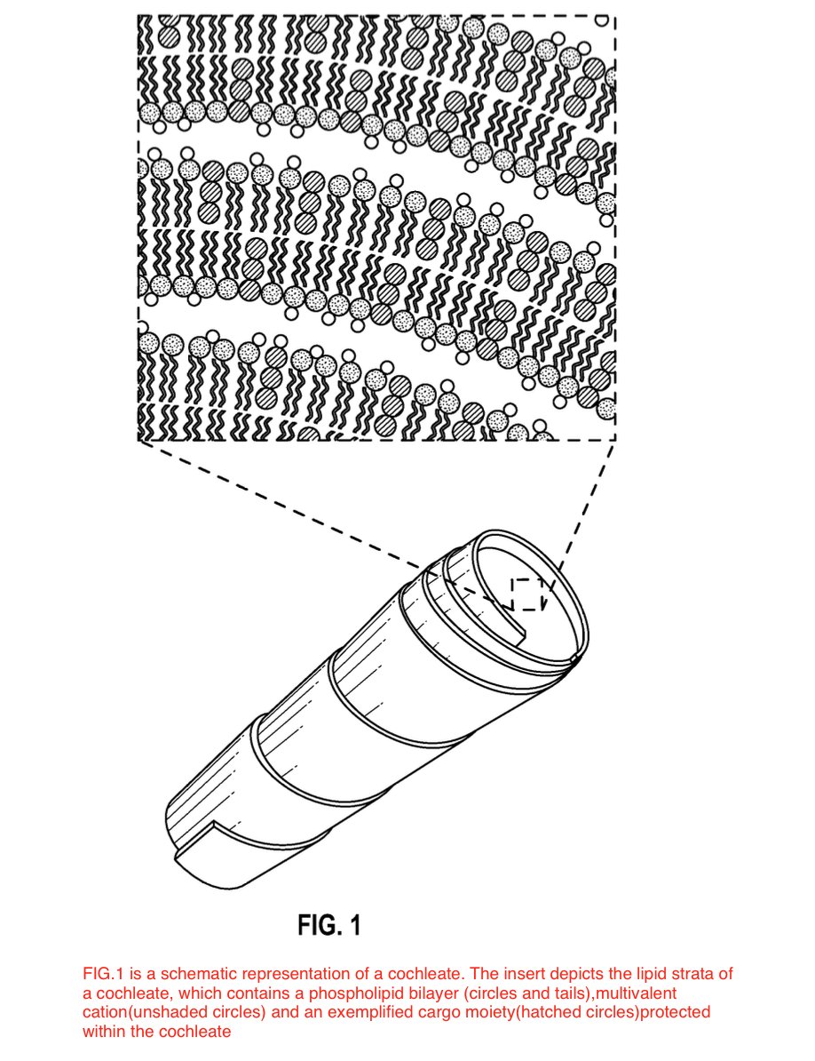
@QueueEdge @IDWeek2022 @alif82 @SazaliBasri @HanzHc @shaharudeen @GSRajahram @Rasidah Cochleates are anhydrous, stable, multi-layered lipid crystals that spontaneously form upon the interaction of negatively charged lipids, such as phosphatidylserine, and divalent cations, such as calcium https://t.co/5KisfGzN9Q (I just learned about it today!)
1
0
1
@IDSAInfo
IDSA
3 years
#IDWeek2022 registrants: Two weeks left to claim your CME, CNE, CPE and MOC credits! Log in and click the Claim Your Credits tile on the homepage by April 24: https://t.co/idlODHUxO3
0
1
0
@IDWeekmtg
IDWeek
3 years
#IDWeek2022 registrants: Today is the last day to access sessions on-demand! To view sessions, visit: https://t.co/YSUdt884dj. Don’t forget to claim your continuing education credits by clicking the “Claim Your Credits” button: https://t.co/MWfpv3vUXd
0
3
5
@IDWeekmtg
IDWeek
3 years
#IDWeek2022 registrants: Three weeks left to claim your CME, CNE, CPE and MOC credit. To claim credit, log in here and click the Claim Your Credits: CME/CNE/CPE/MOC tile on the homepage by April 24: https://t.co/TfEfEluOQt
0
0
3
@here2readshit
Justhere2read
3 years
@Michael59503746 @RealAnitaWhite It's sad to see so many people of color willing to walk the path of white supremacy by perpetuating a pandemic that disproportionately adversely affects people of color. #idweek2022
0
0
6
@IDWeekmtg
IDWeek
3 years
#IDWeek2022 registrants: Two weeks left to claim your CME, CNE, CPE and MOC credit. To claim credit, log in here and click the Claim Your Credits: CME/CNE/CPE/MOC tile on the homepage by April 24: https://t.co/TfEfEluh0V
0
0
2