bluePlug11 Profile Banner
Blinksy Profile
Blinksy

@bluePlug11

Followers
96
Following
4K
Media
13
Statuses
5K

Joined March 2022
Don't wanna be here? Send us removal request.
@Hoang_HQ
๐—ง๐—ถ๐—บ๐—ฒ๐—น๐—ฒ๐˜€๐˜€ ๐— ๐˜‚๐˜€๐—ถ๐—ฐ โœจ๐ŸŽต
13 hours
Amazing performance๐Ÿคฉ
28
339
1K
@PolitlcsUK
Politics UK
2 days
๐Ÿšจ SUMMARY: The new changes to tackle the โ€œBoriswaveโ€ of migrants already in the UK since 2021 - Future migrants may only be able to access benefits and social housing after becoming British citizens - Anyone who currently depends on benefits will face a 20 year wait before
223
265
2K
@davill
Dave Limp
2 days
The aerobrake uses an advanced 3D-woven thermal protection system and comes in 10m and 16m configurations. It will deliver 3x more payload mass than conventional aeroshells, with a capacity up to 20,000 lbs. Key applications include Mars aerocapture, which saves hundreds of tons
@blueorigin
Blue Origin
2 days
We've built a full-scale deployable aerobrake unit showcasing technology that uses planetary atmospheres to slow spacecraft, saving significant mass and cost and enabling heavy cargo delivery from the Moon, to Mars, and point-to-point missions on Earth. Lighter and larger than
59
218
2K
@blueorigin
Blue Origin
2 days
We've built a full-scale deployable aerobrake unit showcasing technology that uses planetary atmospheres to slow spacecraft, saving significant mass and cost and enabling heavy cargo delivery from the Moon, to Mars, and point-to-point missions on Earth. Lighter and larger than
286
672
7K
@NBS_Nigeria
NBS Nigeria
5 days
In October 2025, the Headline inflation rate eased to 16.05% relative to the September 2025 headline inflation rate of 18.02%. Headline inflation rate was 0.93% MoM The Food inflation rate was -0.37% MoM Read the CPI Report for October 2025 here: https://t.co/so6qTYLs0a
32
170
242
@OlayinkaLere
Lere Olayinka - Aresa 1
5 days
Our officer must also be acting on ORDER by driving a car WITH COVERED PLATE NUMBER and refusing to identify himself when Policemen asked him to do. This happened along Kubwa Road, in Abuja yesterday.
1K
329
1K
@FCT_PoliceNG
FCT POLICE COMMAND
5 days
PRESS RELEASE. FCT POLICE COMMAND CLARIFIES STOP-AND-SEARCH INCIDENT AT NNPC JUNCTION, KUBWA EXPRESSWAY. The attention of FCT Police Command has been drawn to publications by an Instagram blogger, โ€œMazitundeednut,โ€ alleging an attack on one Lt. Ahmed Yerima at NNPC junction in
854
411
2K
@Rainmaker1973
Massimo
5 days
The "monkey ladder experiment" is a well-known thought experiment illustrating the concept of learned behavior and social conformity. [๐ŸŽž๏ธ atomswhisper] https://t.co/OQQMbelWkY
115
956
5K
@IrelandFootball
Ireland Football โšฝ๏ธ๐Ÿ‡ฎ๐Ÿ‡ช
5 days
Troy Parrott, take your place on the pantheon of Irish greats ๐Ÿ‡ฎ๐Ÿ‡ช https://t.co/KATKNMZO4g
1K
18K
121K
@paddypower
Paddy Power
5 days
Troy Parrott, where do you want your statue?
12
57
1K
@Rainmaker1973
Massimo
6 days
Germany has unveiled a revolutionary salt-air battery that could transform global energy storage. Instead of relying on lithium โ€” a costly, finite, and environmentally challenging resource โ€” this technology uses salt, air, and carbon to create a long-lasting, stable battery with
171
719
3K
@quantscience_
Quant Science
6 days
๐Ÿšจ BREAKING: I just stumbled upon this Machine Learning Python library for Algorithmic Trading that looks insane. It's called AlphaPy. This is what it does:
4
20
183
@JeffBezos
Jeff Bezos
7 days
Good overview of the landing. We nominally target a few hundred feet away from Jacklyn to avoid a severe impact if engines fail to start or start slowly. Weโ€™ll incrementally reduce that conservatism over time. We are all excited and grateful for yesterday. Amazing performance by
2K
4K
38K
@BizHustlez
Business Hustlez
7 days
Entrepreneur reveals the secret to finding billion-dollar ideas:
18
817
5K
@bluePlug11
Blinksy
7 days
@FAAN_Official Can you investigate the sudden increase in traffic jam at the Lagos Int Airport toll gate every day this November? The traffic backs up all the way back to Mafoluku, using 30 mind to drive 1km. Are your staff slowing things down to frustrate the Go Cashless policy? @fkeyamo
0
1
0
@JeffBezos
Jeff Bezos
6 days
1K
2K
21K
@_RoadToSuccess_
Road To Success
7 days
If you like eating...
534
20K
99K
@stats_feed
World of Statistics
7 days
BREAKING: ๐Ÿ‡บ๐Ÿ‡ธ 655 large US companies have gone bankrupt this year, the highest rate in 15 years, per S&P Global data.
53
121
619
@Harry__Stranger
Harry Stranger
1 year
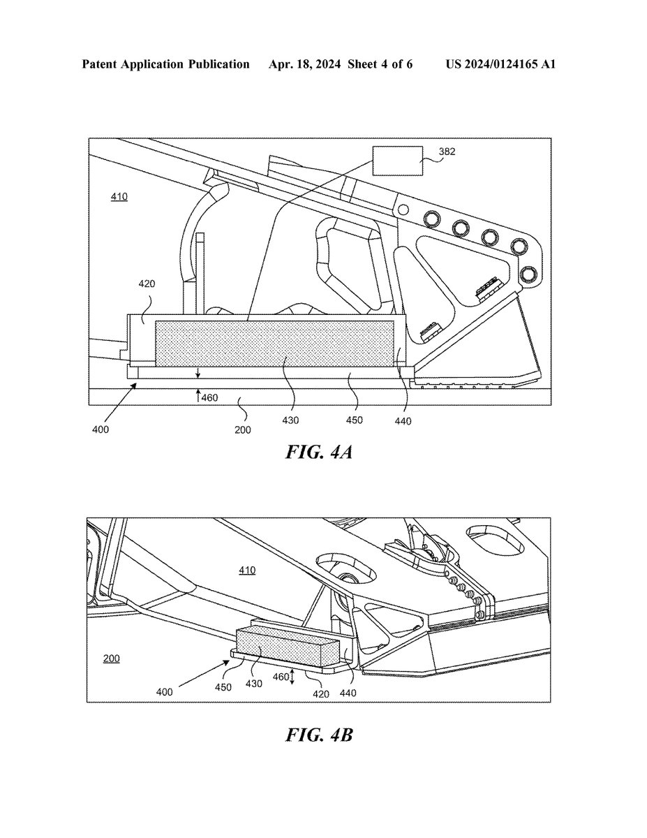
Earlier this year, Blue Origin applied for a patent describing a method of securing New Glenn's first stage to a landing platform using "energetic welding". The system built into one or more landing legs would allow for quick and safe securing of the vehicle at sea.
27
79
692
@ShabanaMahmood
Shabana Mahmood MP
7 days
On Monday, I will announce the most significant changes to our asylum system in modern times ๐Ÿ‘‡
4K
494
3K