Explore tweets tagged as #sawstop
@investorMM
世界のど迫力映像@フォレスト(Forest)🕊️
4 months
「指1本の価値はどれくらいか?」 アメリカでは毎年テーブルソーによる指切断事故が約4,000件、指喪失が約10本/日起きてるとのこと そこで開発されたのが••• 指切断防止システム「SawStop」
31
126
798
@onlysatyanveshi
satyanveshi
2 months
Me pretending I'm responsible with power tools: SawStop: 'Nah fam, we got you.' Hot dog: instant regret Meanwhile my actual finger: stays unemployed forever 😭🍔
0
0
1
@gigadgets_
GiGadgets
10 months
This technology protects workers from accident injuries when using a table saw. SawStop has emerged as a brand synonymous with safety in the woodworking industry, thanks to its innovative table saw technology. Founded in 1999 by Steve Gass, a former attorney and passionate
1
11
34
@biteleiurus
Гуинплен
1 year
Система SawStop. Технология безопасности настольных пил, которая спасла тысячи пальцев. Если станок включён, и кто-то вдруг по неосторожности касается работающего лезвия пилы, защита резко срабатывает, и пила останавливается буквально за несколько миллисекунд. Она наверняка
12
19
177
@Rainmaker1973
Massimo
8 months
The blade of a saw carries a small electrical signal. When skin contacts the blade, the signal changes because the human body is conductive and the change to the signal activates the safety system. [📹 SawStop] https://t.co/Utn1JLk8Y6
29
28
295
@Realnitesh945
Nitesh Das
9 months
How SawStop Detects Your Hand?
0
0
0
@HardPass4
Hard Pass
1 year
@jacktogon SawStop was my dream when they first came out and I was deep down the woodworking rabbit hole. Now I see they make a portable version. Amazing shit.
2
0
32
@Toolstoday
Toolstoday
5 days
🔥 FREE $349 UPGRADE with any SawStop Professional Cabinet Saw Choose: ✔ Mobile Base ✔ Dust Collection Built for pros. Powered by industry-leading safety. 👉 https://t.co/WbpuixTbH0 ⏳ Ends April 30 #SawStop #Woodworking #Tools
0
0
1
@Toolstoday
Toolstoday
11 days
🔥 FREE $349 UPGRADE with any SawStop Professional Cabinet Saw Choose: ✔ Mobile Base ✔ Dust Collection Built for pros. Powered by industry-leading safety. 👉 https://t.co/WbpuixTbH0 ⏳ Ends April 30 #SawStop #Woodworking #Tools
0
0
0
@Toolstoday
Toolstoday
1 month
What do you think of this DIY floating shelf?  Making a simple floating shelf using the SawStop table saw and Amana Tool 610801C 80t fine trim blade all available from @toolstoday. This shelf worked perfectly in our bathroom above the toilet.
0
0
1
@worldofdata001
Xpand your Mind 🧠
2 years
SawStop table is known for its advanced safety feature, which detects contact with skin and stops the blade within milliseconds to prevent serious injuries. The mechanism works by sensing electrical conductivity, which differs between wood and human flesh.
1
0
2
@Toolstoday
Toolstoday
10 days
Chamfering the edges and holes on this pencil holder using a mini ball bearing chamfer bit. Tools used are available from @toolstoday Amana Tool 3/16" ball bearing Mini Chamfer Bit, item no. MR0108 SawStop Inline Router Table, item no. RT-TGP SawStop Router Lift, item no. RT-LFT
0
0
1
@Toolstoday
Toolstoday
3 months
💸 Get up to $450 in SawStop accessory credit! Upgrade your shop with the safest saws in the industry — now through 12/31/25. 🎁 Shop qualifying models here: https://t.co/ArFC8yF1Ps
0
0
0
@mfBRAT_eth
𝖒𝖋 𝖇𝖗𝖆𝖙
3 months
@9mmsmg homie needs a @SawStop 👌🏼
19
1
757
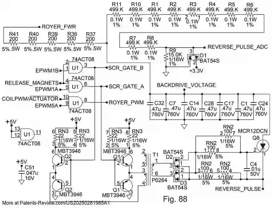
@PatentPulse
Interesting Patents
7 months
🔍 New patent application #US20250281985A1 by #SawStop reveals advanced #PowerToolSafety systems. These tools use detection systems to identify dangerous conditions between users and cutting tools. Fast-acting, low-inertia actuators retract blades swiftly upon detection,
0
0
0
@Toolstoday
Toolstoday
1 month
New fence setup on the SawStop ICS. Out of the box, handle on, dropped onto the rails and ready to work. Slid accessories into the dovetail slot, switched between high, low, and L-fence positions, and shifted it forward for clean, controlled stop-block cuts.
0
0
2
@Toolstoday
Toolstoday
20 days
When the material is thicker than the blade can cut in a single pass, a flip cut solves the problem. Tools available from @toolstoday Amana Tool 10" 40T Prestige Blade, item no. PR1040C SawStop ICS 5hp Table Saw, item no. ICS51230-52 MicroJig GRR-RIPPER +, item no. GR-100+
1
0
0
@Toolstoday
Toolstoday
19 days
🔥 FREE $349 UPGRADE with any SawStop Professional Cabinet Saw Choose: ✔ Mobile Base ✔ Dust Collection Built for pros. Powered by industry-leading safety. 👉 https://t.co/WbpuixTbH0 ⏳ Ends April 30 #SawStop #Woodworking #Tools
0
0
0
@KentGra88631041
Texas Oil Man 🛢️
9 months
I’ll take this as a personal challenge! We’ll see if it really takes 2 to build this! BTW, some furniture manufacturers need to look toward SawStop assembly instructions! IYKYK!
0
0
1