Explore tweets tagged as #reactants
@lessicentral
ALESSI CENTRAL
4 months
the reactants vs the product
0
1
31
@drkeithsiau
Keith Siau
4 months
Acute phase reactants ↕️💡
3
48
185
@RowanSci
Rowan
6 months
We often think about potential energy surfaces in 2D, but they're really 3D. Our summer intern, Isaiah Sippel, used Manim to create a short 3D animation of a Diels–Alder PES. The video illustrates the energy barrier between reactants and products, along with the connecting MEP:
1
9
55
@electricmirth
ɪᴇᴛʜʀᴏ
28 days
Interesting biochemical similarity on @0xAlaric “On Liminality”: In all life’s metabolism, the maintenance of the organism is determined by thousands of reactions, each mediated by a “transition state”, which is neither products nor reactants — its in between.
1
14
21
@mariogramltd
MaRio
2 months
a chemical reaction sparks the cause for a new substance called the product and what brings about this product, are the reactants what comes about wen reacting @miberamaker333 X @steadyteddys ? 11/11
2
1
8
@AdriNationHQ
adri :3
2 months
I have once again been flagged for being too curious and asking for quotes for biochemical reactants from my personal email
1
1
20
@peggywrote
Peggy
5 months
The ideal chemical process is that which a one-armed operator can perform by pouring the reactants into a bathtub and collecting pure product from the drain hole. -Sir John Cornforth (Nobel Prize, 1976) -me with my 50-step geopolymer process, still waiting for it to set properly
1
0
8
@keeepmoving_
hannah
6 months
Activation Energy energy "barrier" reactants must overcome for a reaction to occur initiates the breaking of bonds , allowing new bonds to form
0
0
0
@CHS_Science_1
CHS Science
3 months
9S1 have been studying rates of reaction. They demonstrated compounds being formed by burning magnesium 🔥 Cementing practical skills while observing the reactions and products formed from reactants 🥼
0
0
2
@studyguides
StudyGuides.com
3 months
Activation energy is the minimum amount of energy required to initiate a chemical reaction. It acts as an energy barrier that reactants must overcome to transform into products. Without sufficient activation energy, the reaction will not proceed, even if the reactants are
0
0
0
@iampotato007
i’mapotato
6 days
@Dr_SabineCallas funnily enough at least two of these equations are wrong lol in the first one chlorine should not be formed and the second one somehow changes the position of a substituent (from ortho to meta(??))which is highly unlikely considering the reactants
2
4
31
@medicosis
Med Perfectionalis
4 months
Q: What's the primary cytokine responsible for the increased liver synthesis of acute phase reactants? 🤔…#médical #medical #doctor #nurse #pathology #medstudent #medicalstudent
1
0
1
@MsJoanneGreen
Joanne Green
3 months
Experiment film 9. There is no visible movement, though reactants are abound. The are fewer air bubbles in the Sample B' than A' due to greater Oxygen availability in A'.
0
0
0
@MsJoanneGreen
Joanne Green
3 months
Experiment film 1. The reactants: yellow glycerol food colouring has combined with the methylene blue that helps oxygen transference to create green. This shows valid & expected results. The fluff is plastic from inside the rocket tube.
0
0
0
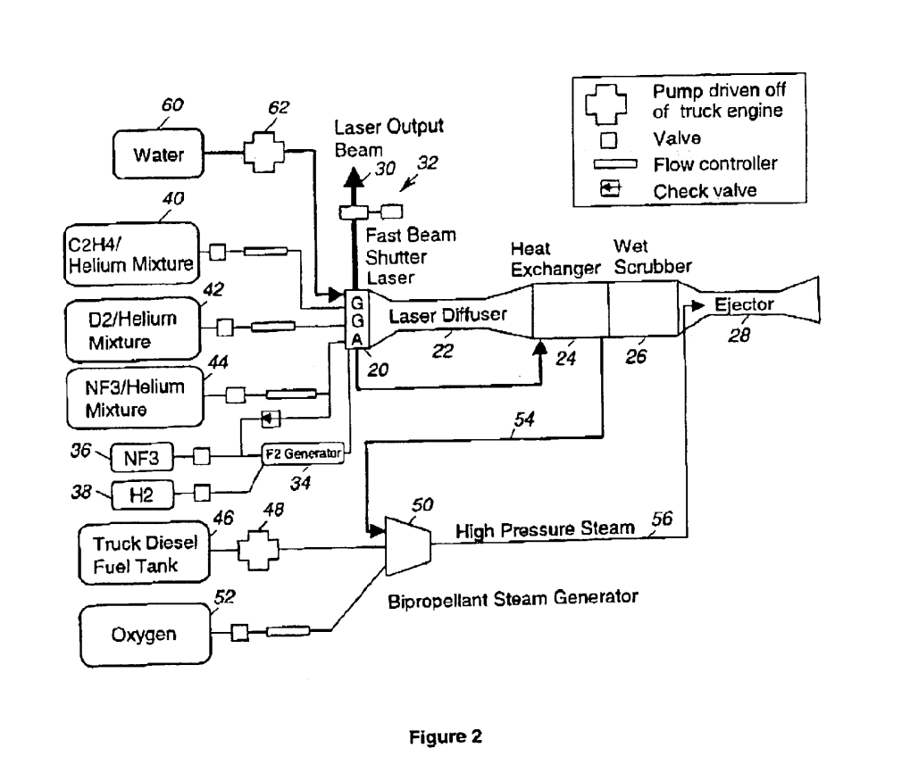
@ToughSf
ToughSF
3 months
Patent for a mobile chemical-fuel laser: https://t.co/Qzj0gOd9KI It uses nitrogen trifluoride-ethylene reactants and a diesel-oxygen steam generator for power. It's meant as a simpler, 5 times more compact upgrade to the THEL ACTD that already fit inside a 12 m long container.
2
5
60
@Materials_mdpi
Materials MDPI
2 months
📌Enhanced Interfacial Properties of Carbon Fiber/#Polymerization of Monomers Reactants Method #Polyimide Composite by #Polyimide Sizing 📝Authored by: Chengyu Huang et. al. 🔗 https://t.co/qwwY4BcV87 #MaterialsScience #PolymerEngineering
0
1
7
@pharmachemtutor
𝙋𝙝𝙖𝙧𝙢𝙖𝙘𝙝𝙚𝙢『♡』
2 months
Catalyst เคมี ม.5 ❌ไม่ได้ไปลด Ea เดิม ใครชอบท่อง catalyst = ลด Ea ระวัง ✅ สร้างทางใหม่ใช้ Ea “น้อยลง” Catalysts interact with reactants so the reaction can occur by an alternate pathway that has a lower activation energy. Ref: https://t.co/ZRhdDEfKD4 #dek69 #pharmachem
0
8
27
@MsJoanneGreen
Joanne Green
1 month
Experiment film 14. Adding water & colour won't change geometric shapes or bonds as they are same reactants. Their addition creates more oxidation, yet no colour change due to leaves having low Iron content, unlike seeds.
0
0
1
@Andercot
Andrew Côté
3 months
DFT calculations are used to refine ML results, sometimes updating the GN For a chemical catalyst, understanding the electronic structure lets us calculate how well our desired reactants will bond together to form a new product, given a particular surface chemistry.
1
0
9