Explore tweets tagged as #mapapp
@oba_obidoyin
KingHubs 👑
7 months
Worked on navigation routing in my mapapp using MapBox & flutter Check it out 🤓 #flutter
6
3
35
@TakuyaInGeorgia
Takuya in Georgia🇬🇪
3 months
#個人開発 9日目: $JPYC Hub - サービス名決定 - ドメイン取得 - 仕様書の修正(特に投稿画面) - デザイン完了 MapApp - 仕様書作成 - デザイン一部修正 その他 初めてジョージアのボーリングに行ってきました 土日の夜が一番高いけど5ゲームやって二人で4,000円くらい
1
1
8
@PatentPulse
Interesting Patents
8 months
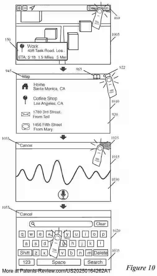
Apple's patent application #US20250164262A1 introduces a #MapApp with enhanced search tools. It features UI elements for location input that appear in a hierarchical sequence, minimizing user interaction. Key elements include: 1. Predicted-destination notifications 2. List of
0
0
0
@ozwelshcobs
Mona Helmgens
2 years
0
0
0
@KF_1978
Kazuhiro Fujiya
3 years
Appleのマップの航空写真はミルハス完成してた Googleマップの航空写真は県民会館のまま 航空写真で言えばAppleが追い抜いた⁉️ #apple #google #mapapp #航空写真
0
0
0
@raseltangail0
artology
3 years
DISCOVERY MAPPING by Artology_Logo Designer ✅ https://t.co/gor0QsHRz1 Open for commission work! Say Hello: ☛ raseltangail0@gmail.com #logos #mapping #location #logodesigns #creative #logodesigner #logomaker #graphicdesigner #mlogo #mapapp #maplogo
0
1
0
@ProtoPieApp
ProtoPie 🥧
7 months
Get lost in great design! 📍 Our new demo shows a super smooth map navigation prototype made with ProtoPie. See interactive maps come to life! #ProtoPie #UIUX #Prototyping #MapApp
0
0
0
@dterminalIN
DIGITAL TERMINAL
1 year
Apple Maps Takes on Google with Web Debut Apple has officially entered the web mapping arena with the launch of a public beta for Apple Maps. The move positions the tech giant in direct.. Read More👉 https://t.co/SX0hlJYquq #AppleIndia #AppleApp #AppleMaps #MapApp
0
0
3
@GarminMapApp
MapApp
3 years
我在 Garmin Connect 上获得��一个徽章。 #beatyesterday #garmin
0
0
0
@jherries
Jim Herries
3 years
Stuck on your #MapApp project? Check out Designing Map Interfaces by @MichaelGaigg https://t.co/A1IqDtyy3a Visit the #EsriDevSummit store or Esri Press booth to view early copies. Not in-person at #DevSummit? Check @EsriPress' Twitter for book discounts you can use from home!
0
3
14
@onirenGOLF
鬼練GOLF
19 days
初詣 なのか神社探訪なのか? 8社訪問してそのうち新規が5社 由緒や伝承を調べるスピードより画像が集まるスピードが早すぎて… もう、MapApp見て行って着いた瞬間にある程度予測はつくよね… ※縄文海進
0
0
4
@dog_free_life
Dog Free
3 months
New features on dog-free website: ✅ Explore multiple cities ✅ Show/hide the heatmap as needed Find your perfect dog-free zones with better control and flexibility! #DogFree #DogFreeZones #DogFreeSpaces #MapApp #HeatMap #Cynophobia #PetFree
0
0
0
@jadeofpurplehue
Jade 🐙🐟
3 years
#TAKOTIME Mapapp
0
0
0
@teentechevent
TeenTech
2 years
The winner of our Future of Transport category is MapApp+ from Jessica, Yixuan and Zikun from @CSG1871! Awesome job! With an honourable mention to Tubular Energy too!
0
1
4
@_AieXia
Aie𝕏iaकƖ ıʑ̸̀ᒐक🐧🍥
2 years
#StarCitizen α3.23 StarMapはローカルマップと統合されてMapAppになる。 ミッション目的地や設置したマーカーまでのナビゲーションができる。 ナビゲーションはHUDに表示可能。 Mapでローカルの施設を確認できる。 星系内のアウトポスト等を検索してナビ設定できる。 かっこいい🚀
@RobertsSpaceInd
Star Citizen
2 years
Navigating the 'verse has never been better! This week's Inside Star Citizen takes a look at the highly anticipated updates to the mobiGlas and map systems that are headed your way in Alpha 3.23. Watch it now: https://t.co/Ot9m8h3f8y
0
6
8
@navitime_mck
モビリティ関連情報 byナビタイム
2 years
/ フォロー&RPキャンペーン🎁 UNDEAD編スタート🦇 \ アルバムシリーズ発売記念 #特別コラボTRIPTIMEキャンペーン!! 箱根海賊船とのコラボを記念したチェックインラリーも開始!!アプリ『NAVITIMEマップ』をチェック!! ▶ https://t.co/fATKwa7ExF #あんスタ #チェックインラリー #UNDEAD
1
2K
2K
@yu_rish5bb
いちる
3 years
梅田で迷子(๑╹ω╹๑ ) 梅田の町中だとMAPAppが急に無能になるのやめてくれん?
0
0
2
@XeoVaan
Vaan Da Tako
3 years
mapapp
0
0
2