Explore tweets tagged as #inputDevices
この「inputDevices」の中にSRP(SimRacingPro)ペダル無いってことは対応してないってことか…😖 MOZAのアクティブペダル逝っちゃう?←行けない🥺 #projectmotorracing
0
0
0
Co-curricular activity at #rosaryschoolrajkot : Subject : #computer Activity : #Inputdevices and #Outputdevices Purpose : Guiding Students about different types of Input and Output devices. #welldone #Rozarites
#computersciencestudents
0
1
2
A study of administrative staff at Bangladeshi universities found a strong link between poorly designed input devices & increased rates of musculoskeletal disorders. Enter ISO 9241-410:2008—the ergonomic design standard for #InputDevices. @isostandards
0
0
3
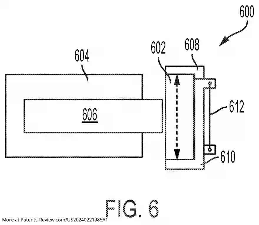
#Dell's new patent application #US20240221985 reveals a tunable haptic damping system for input devices. It adjusts tension on a damping medium via linear magnetic ram, enhancing user experience. #Patent #Haptics #Dell #InputDevices
0
0
0
The #flightdatarecorder market offers a range of recorder types, including flight data recorder (FDR), cockpit voice recorder (CVR), and quick access recorder (QAR). Various components constitute these recorders, such as memory units, electronic controller boards, #inputdevices,
0
0
0
ついでにこないだ作った鬼畜ロボもUnityで取り込んでみた。そしたらデカいのなんの。作ってる時に大きさ確認してなかったわ。 右コントローラから弾が出るようにした。スクリプトはUnityEngine.XR.InputDevice型の変数を宣言し、そこにInputDevices.GetDeviceAtXRNode(XRNode.RightHand)を代入。
1
0
1
7月19日に、電子情報技術産業協会 #JEITA が端末装置、プリンター、入力装置に関する調査報告書を発行。ダウンロード版。詳細はそれぞれ https://t.co/JCLVFJlzPb , https://t.co/bUTUUExajd , https://t.co/JHNAeHGRHL を参照。 #JETA #Survey #Report #TerminalDevices #Printers #InputDevices
0
0
1
7月18日に、電子情報技術産業協会 #JEITA が端末装置、プリンター、入力装置に関する調査報告書を発行。ダウンロード版。詳細はそれぞれ https://t.co/3gDA7fjiFW 、 https://t.co/lxcg65muW3 、 https://t.co/oU6VkzlEPD に。 #Survey #Report #TerminalDevices #Printers #InputDevices
0
0
0
On this day in 1978, Advanced Input Devices’ Articles of Incorporation in Idaho was submitted and approved! We have changed a lot in the last 45 years, yet our commitment to innovation and our employees remains the same! #idaho #inputdevices #innovation #technology
0
0
0
3Dconnexion’s Input Devices Integrate with ZWCAD https://t.co/YPuREBk0I4 via @dailycadcam
@3Dconnexion #InputDevices #3DMouse #SpaceMouse #CadMouse #Collaboration @ZWSOFT @ZWCAD #2D #3D #CAD
0
0
1
3Dconnexion Introduces SpaceMouse Wireless Bluetooth Edition https://t.co/SO09ZyLUAw via @dailycadcam
@3Dconnexion #InputDevices #3DMouse #3DNavigation #SpaceMouseWirelessBluetoothEdition #3DDesign #CAD
0
0
1
From old-school keyboards to modern touchpads, input devices have come a long way! 🖲️ #TechEvolution #GadgetLove #InputDevices #TechTalk #GadgetGeek
0
0
1
Joystick . . . . for more information https://t.co/vVKMuykyjs check the above link . . . . #inputdevices #trackeball #spaceball #joystick #outputdevices #computergraphics #NonInteractiveComputerGraphics #javatpoint
0
0
0
Spaceball . . . . for more information https://t.co/vVKMuykyjs check the above link . . . . #inputdevices #trackeball #spaceball #joystick #outputdevices #computergraphics #NonInteractiveComputerGraphics #computerengineering #javatpoint
0
0
0
Light Pen . . . . for more information https://t.co/aYwb8nkz9F check the above link . . . . #lightpen #digitizer #touchpanel #voicesystem #voicerecognition #inputdevices #trackeball #spaceball #joystick #outputdevices #computerengineering #javatpoint
0
0
0
Digitizers . . . . for more information https://t.co/aYwb8nkz9F check the above link . . . . #lightpen #digitizer #touchpanel #voicesystem #voicerecognition #inputdevices #trackeball #spaceball #joystick #outputdevices #computergraphics #computerengineering #javatpoint
0
0
0
Printers . . . . for more information https://t.co/cJEeZCs4eV check the above link . . . . #imagescanner #printer #lightpen #digitizer #inputdevices #trackeball #joystick #outputdevices #computergraphics #plotter #drumplotter #drumprinter #computerengineering #javatpoint
0
0
0