Explore tweets tagged as #diffusionmodel
@PRouzrokh
Pouria Rouzrokh, MD
2 years
1) 🔥Excited to share our recent publication at @JArthroplasty, which introduces THA-NET, our new #DiffusionModel at @Mayo_OSAIL & @MayoAILab to mimic high-quality total hip arthroplasty on plain radiographs. Live demo: https://t.co/iLRojVKmAo Details and link to article: 🧵👇
6
15
82
@UThree271828
uthree
2 years
GAN/DiffusionModelで話者変換を行うボイスチェンジャを作っています https://t.co/y1UJprOqtR ピッチ制御とかもできるので頑張れば歌声も変換できます。
1
3
13
@80Level
80 LEVEL
3 years
A team of AI developers has unveiled Dreamix, a new diffusion model capable of generating and editing videos from image and text prompts: https://t.co/aKvp1pJ7ew #ai #diffusionmodel #dreamix #texttovideo
20
133
737
@Oguryu417
OguRyu🇩🇪
10 months
Exciting news! 🎉 Our paper “TKG-DM: Training-free Chroma Key Content Generation Diffusion Model” has been accepted to #CVPR2025! 🥳 Stay tuned for more updates! #AI #DiffusionModel #TKG
8
11
113
@Katameron_2
Katameron@
3 years
無から作り出せるのなら問題ないだろうが、Diffusionmodelは学習元の画像に依存してるので、違法なものでもAIに読み込ませれば問題ないという理由で、逆に実在児童の被害等が増える未来まで予測できた。
1
5
15
@80Level
80 LEVEL
2 years
A team of researchers from ByteDance has introduced MVDream, a multi-view diffusion model capable of generating 3D models from text prompts. Learn more: https://t.co/dkB953GPUe #mvdream #research #researchpaper #diffusion #diffusionmodel #ai #aitech #aitechnology #textto3d
71
162
1K
@decisionmaestro
Adrian Dunkley
2 years
Large Language Model visualised by a Large Language and Diffusion Model #llm #diffusionmodel #gpt4 #DALLE3 #OpenAIDevDay #OpenAI #AIart
1
0
1
@AINetworkTech
AI Network Technology
9 months
??ちょっと��く分からないですが、DiffusionModel?チップ??すごいの???
0
0
1
@xbresson
Xavier Bresson
1 year
Looking forward to attending #NeurIPS2024 -- See you all there! 🙂 #GNN #LLM #DiffusionModel #Material #Molecule #Math
1
0
15
@MastersNitish
NITISH JAIN
7 months
Day 284 Meet Cobra: The Future of Comic Coloring Is Here! 🐍🖌️ It is a new AI tool designed specifically for reference-based line art colorization and it solves what comic artists and studios have been asking for. #AIForComics #GenerativeAI #LineArtColorization #DiffusionModel
0
0
1
@GocharlieAI
GoCharlie🐕
2 years
Our weekly dump of AI Generated Images our teamed loved 💖 #ai #aiimages #imagegeneration #diffusionmodel #robertdeniro
0
1
2
@TechExplorist
Tech Explorist
3 years
MIT researchers built DiffDock, a model that may one day be able to find new drugs faster than traditional methods and reduce the potential for adverse side effects. #diffdock #research #diffusionmodel #science #newdrug #techexplorist
0
0
1
@shinomi0326
篠宮紀彦(Norihiko SHINOMIYA)
3 years
#AIプログラミング のセミナー、#関西創価高校 。 #深層学習 による文字認識と画像認識、 #diffusionmodel による画像生成、 #ChatGPT の体験、 #シンギュラリティ 、#LAWS の脅威など、てんこ盛りでしたが、みんなで楽しみながら勉強しました。 #本職は情報科学です #創価大学理工学部 #篠宮研
2
0
32
@shanegJP
シェイン・グウ
10 months
元来のトランスフォーマーのように一文字1文字生成するのではなく、まずラフな全体文章を生成し、それを編集していく。画像生成や動画生成を使われてるDiffusionModelの原理を文章生成で使ってます。スタンフォードの名教授、StephanErmonと彼の弟子2人が作ったものです。 https://t.co/HzXp6Ib4U7
5
181
1K
@12_technology
12kaz
3 years
AIでテキストからHuman motionを生成してみました。 以下は「person throwing ball」から生成した結果です。 こちらからブラウザでお試しいただけます https://t.co/ux5YSBKPwP #Python #DiffusionModel #AI
0
0
4
@Analyticsindiam
AIM
3 years
Some deeply-embedded concepts in diffusion models have made them unsuitable for widespread use—until now. Article link 👇 #diffusionmodel #gans
1
0
0
@PatentPulse
Interesting Patents
1 year
#Snap Inc.'s patent appl. #US20240378763A1 reveals a #DiffusionModel for XR virtual try-ons. It uses images to create a realistic fit by replacing pixels of real-world objects with fashion items, refining with #MachineLearning for seamless integration. $SNAP #VirtualTryOn #XR
0
0
1
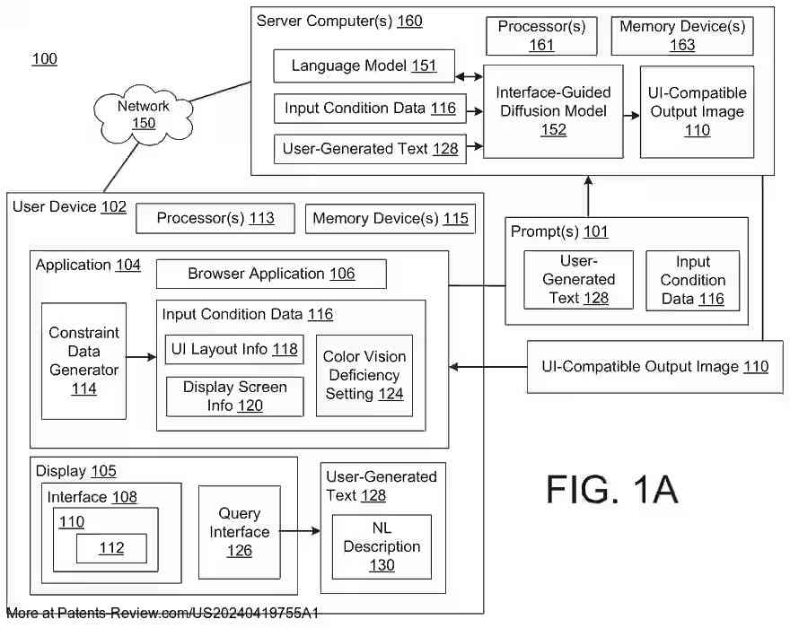
@PatentPulse
Interesting Patents
1 year
Google's new patent application #US20240419755A1 explores #ApplicationCustomization using an interface-guided diffusion model. It generates UI-compatible images from user prompts & UI layout data, enhancing app interfaces. #Patent $GOOGL #DiffusionModel
0
0
0