Explore tweets tagged as #AvatarAnimation
#Kuvira vs #Avatar #Korra Comparrison. #legendofkorra #korra #avatarkorra #lok #atla #kuvira #animationtracing #animonthly #avataranimation
0
0
4
#Kuvira vs #Avatar #Korra Part 5. I'm gonna work on this tracing for the next couple days to work on #gesture, #movement, and #timing. Worked on this part for about 1.5 hours. #legendofkorra #korra #avatarkorra #lok #atla #kuvira #animationtracing #animonthly #avataranimation
1
1
5
#Kuvira vs #Avatar #Korra Part 8. Two more fire blast then, I'm done! #legendofkorra #korra #avatarkorra #lok #atla #kuvira #animationtracing #animonthly #avataranimation
0
0
6
#Kuvira vs #Avatar #Korra Part 8. ALL FINISHED, on to the next one! My Hero Academia!! #legendofkorra #korra #avatarkorra #lok #atla #kuvira #animationtracing #animonthly #avataranimation
0
0
1
#Kuvira vs #Avatar #Korra Part 7. Finished all body movements, time for effects. #legendofkorra #korra #avatarkorra #lok #atla #kuvira #animationtracing #animonthly #avataranimation
0
0
2
0
0
1
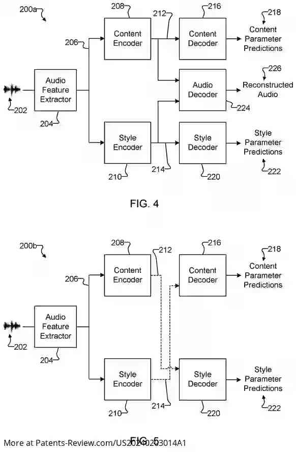
#Samsung's new patent app #US20240203014A1 reveals a machine learning method for audio-driven avatar animation. It extracts audio features, predicts content & style parameters using disentangled embeddings, enhancing digital interactions. #MachineLearning #AvatarAnimation
0
0
0
Checking Some Default animations on My Hulk Avatar #3DCharacter #AvatarAnimation #HulkAvatar #Reallusion #GameDev #CharacterDesign #UnrealEngine #AnimationTesting #DigitalArt
0
0
4
【Unityを使った3Dゲームの作り方(javascript)】FPSを作ってみよう9-上半身のアニメーションだけ変更する- - #Unityまとめ https://t.co/vzHojcNX4X
0
0
0
Try out Nuitrack with the Vitruvius avatar animation toolset: https://t.co/CaIixU11T5 ✅ Avatar animation ✅ Body pose analysis ✅ Basic motion capturing ✅ Green screen #ComputerVision #SkeletonTracking #Nuitrack #Vitruvius #GestureRecognition #PoseEstimation #AvatarAnimation
0
2
5
I'm remaking the avatar intro with naruto characters. Lol here is sakura for earth . . . #avatar #naruto #animation #2danimation #sakura #earthbending #earth #avatarxnaruto #atla #alok #avataranimation
0
2
5
GM☕️Testing out #liveportrait doing animations of @JimiHendrix 🎸Have a good Tues! 😎 #tech #ai #aiartists #generativeai #aivideo #aiavatar #avataranimation #animation #aiartist #hendrix #digitalartist #guitarists #music #musicans #musiclovers #guitarplayer
0
0
3