Explore tweets tagged as #apsk
@KisebOfficial
KISEB
6 days
New Year. New Goals. A new year brings a fresh opportunity to invest in your professional growth. Enrol for CPSP-K. CPSP-K is designed to deliver practical knowledge, flexible learning, and is globally recognised. 🌐 https://t.co/y2g6pOcKt6 #GetCertified #CPSPK #APSK
0
0
4
@PxlHulk
pixel hulk
5 months
@Giovann35084111 you don’t agree with this view by apsk? it seems to suggest a very similar prediction level and timing as your own full model (200k in the fall if we follow the mean) thoughts?
1
0
4
@dbd_noami
سعيد
14 hours
▬كؤبؤن▬كؤد▬خصم▬ايهرب▬ايهيرب▬ ▬كؤبؤن▬كود▬خصم▬نون▬ ⎐ٺوٺ⎐ ⊵S3Q⊴ ⎐ابهررب⎐ ⊵GCA5893⊴ ^^^ apSK
0
0
0
@Traction_sgb
Traction School of Governance & Business
2 months
Ready to start your procurement career? The APS-K Course gives you a strong foundation in supply chain & logistics management. 🎯 Enroll now: https://t.co/aglrh4iNRR #APSK #Procurement #SupplyChain #CareerGrowth #TractionSchool
0
1
2
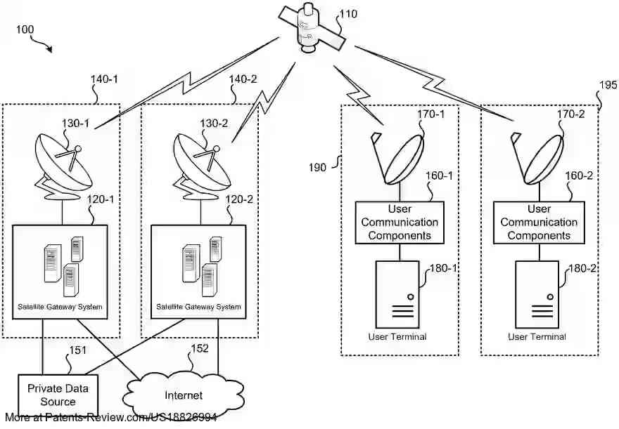
@PatentPulse
Interesting Patents
1 month
🚀 New patent grant alert #US18826994B1 by #HughesNetworkSystems Explore innovative #Satellite return-link communications with a unique 1+N-ary signal constellation. This tech arranges M (e.g., 8) constellation points to boost distance efficiency using 1+N APSK modulation.
0
0
0
@apsk32
apsk32
5 days
Does this time look different?
13
11
111
@APSK8_OCPS
Audubon Park School K8
3 days
Don't miss out on our 25/26 Yearbook!
0
0
0
@Traction_sgb
Traction School of Governance & Business
1 month
ickstart your procurement career. 🔥 APS-K January 2026 Intake now open! Enroll today: https://t.co/aglrh4jlHp #APSK #Procurement
0
0
0
@Apsk0J
ポポ
7 days
みなさんプレイリストの曲の数どのくらいですか?参考までに僕はこのくらいです
0
0
2
@athree_Rm
Cat~Ai🌙
11 days
▬كؤبؤن▬كؤد▬خصم▬ايهرب▬ايهيرب▬ ▬كؤبؤن▬كود▬خصم▬نون▬ ⎐ٺوٺ⎐ ⊵S3Q⊴ ⎐ابهررب⎐ ⊵GCA5893⊴ ^^^ ApSK
0
0
0
@Phayn5008
Phayn
2 months
▬كؤبؤن▬كؤد▬خصم▬ايهرب▬ايهيرب▬ ▬كؤبؤن▬كود▬خصم▬نون▬ ⎐ٺوٺ⎐ ⊵SR55⊴ ⎐ابهررب⎐ ⊵GCA5893⊴ ^^^ Apsk
0
0
0
@haha10003__
დ゚haha =͟͟✩¹
5 months
야잘잘 문동주 ㅈㅉ 좋아하는 기사 https://t.co/9nZGhYPQdy
0
10
87
@KarPaj_
KarPa
13 days
▬كؤبؤن▬كؤد▬خصم▬ايهرب▬ايهيرب▬ ▬كؤبؤن▬كود▬خصم▬نون▬ ⎐ٺوٺ⎐ ⊵S3Q⊴ ⎐ابهررب⎐ ⊵GCA5893⊴ ^^^ APSk
0
0
0
@mzylvs_2
명산🦊🐥
4 months
Yoona (Lee Sowon) Yoonjae's (#윤산하) sister in #내여자친구는상남자 interview 🔗 https://t.co/wYpTcJyu0Z
0
7
23
@AMDJESUSS
Alexandre Maciel
14 days
▬كؤبؤن▬كؤد▬خصم▬ايهرب▬ايهيرب▬ ▬كؤبؤن▬كود▬خصم▬نون▬ ⎐ٺوٺ⎐ ⊵S3Q⊴ ابهررب GCA5893 ^^^ Apsk
0
0
0
@atussan456
Ian Jekoven Dnuiep
1 month
APsk Rabp K H xym ANo GTvc MaBJ SeFYM
0
0
1
@Shaqu_aPsK_afm
ろ過し【rokka】🌽😈🌲🐻️💿🌸🔥🐚そらぱ2026昼夜
19 hours
#そらぱ2026_Night ありったけの好きだ!!!!!!!! 本当にありがとうございました✨ 少しずつ少しずつ歩みを進めてきて やっとここまで来たんだね 本当におめでとう✨ 夢で見た景色 憧れを叶えて 青空の向こうへ きっと目の前、絶対叶えられる 頑張れそらちゃん🐻️💿 大好きだ✨
1
0
6
@16APSK
Rayan
16 days
في الإعادة افادة. $xauusd
@16APSK
Rayan
3 years
الدهب يا حبيبي بضلوا دهب. $XAUUSD
0
0
0
@16APSK
Rayan
7 hours
الهرم الغذائي الأمريكي الجديد هو اساسا مكتوب حرفيا بكتاب the obesity code - Jason Fung. المنشور من ١١ سنة وللمفارقة الكتاب بيسخر من هرم الغذائي السابق. المشكلة انو لحد هلق بعدها العالم بتحكيك بضرورة تعداد كالوريز ورياضة لتخفيف الوزن والموضوع بمحل تاني كليا.
@Bent_Rawya
🦋𝕄𝕒𝕚 ℕ𝕒𝕤𝕤𝕖𝕣🦸‍♀️👩‍⚕️
13 hours
الهرم الغذائي اللي درسناه واتربينا عليه… اتشقلب حرفيا يوم 7 يناير American Dietary Guidelines 2025–2030 اتنشرت المرة دي مش تغيير شكل ده تغيير في حسابات وشكل اكلنا .... أهم نقطة في الجايدلاينز الجديدة التحول من حساب السعرات لجودة الأكل والصحة الايضية الجسم مش آلة حاسبة جسم
1
0
0