Explore tweets tagged as #CabAC
@ca_bac_
con vợ này seg nhể
17 days
learn to draw with Ca 🐢 #cabac_
4
1
33
@batmanvascainoo
Xande Batman do Vasco
10 months
🦇💢 FOI MUITO CABAÇ🤬 NA DECLARAÇÃO SOBRE O CAPASSO Foi sincero? Sim... mas do jeito que falou, só fez aumentar um clima ruim que já existia antes, além de desvalorizar um ativo do clube. Declaração que retrata o amadorismo que é a atual gestão do Vasco.
0
0
0
@Nishant82407675
Nishant ⭐
1 month
Question of the Day 1092. Shortest Common Supersequence of two strings using Dynamic Programming. A supersequence is the shortest possible string that contains both given strings as subsequences. Example: str1 = "abac" str2 = "cab" Expected Output: "cabac" Hint: Start by
0
0
1
@Worsel555
Ken Williams
10 months
Nothing like looking at your 5 hr stream you just ended, despite your health you were having a good time. Then you check the VOD. It somehow applied CAVLC and CABAC at the same time with x264. Double compression. Check to the left of the canopy and the smoke stack far left. WTF
1
0
1
@0x000008e
suicidal yıkık🇺🇾
10 months
cabac latte… yakinda starbucksta…
@Haber
Haber
10 months
Türkiye’nin Almanya üzerinden Avusturya’ya gönderdiği kabakta, klorofenoksiasetik asit tespit edildiği öğrenildi. Ürünler marketlerden toplatıldı. (Gerçek Gündem)
0
0
0
@amijuego
Domi
6 months
Me informan que Cabac, Feiman, Majul, Rossi, Trebuc, Fantino, Leuco y Novaresio tratarán de reclamar el último sobre de esta temporada
0
1
4
@memeyasan02
めめ屋 軒下店
1 month
CoC『純潔と鉄血』 KP:かがみさん HO純潔:Aslan Cabac/めめ屋 HO鉄血:Silja/楸さん END-1 両生還 楽しかったー!!苦しくて良かった… お二人ともありがとうございました!
0
1
9
@EoDanOficial
ÉoDan
7 hours
RAP GEEK TÁ DOMINANDO TUDO PAI. só não vê quem não quer. “Aaaaaa música de cabaç😇” cabaç4 é vc🙏 que escuta nossas músicas de tabela por conta do seu irmão 🤣
@FinadoJava
Predestinado 💸
1 day
Peguei meu irmão ouvindo isso e cheguei a conclusão que a cena de rap masculina tá tão fraca que os cara do rap de anime tá dando surra
3
28
326
@YOUCEFHOUSSEME1
Houssem Bousmaha
10 months
CABAC Context Adaptive Binary Arithmetic Coding https://t.co/zgVv9V9Vts
0
0
0
@m_sanchez___
Miriam
2 months
rave en la via verda en batoi (caben un cabaç de tendes....) la experiencia es la mateixa
0
0
13
@IoMoralesXS
🦇 𝑴𝓸𝓻𝓪𝓵𝓮𝓼
4 months
Também, age que nem cabaç---
@Yamaravlr
apaixonado por mulheres que destruirao minha vida
4 months
Como pode >EU< estar solteiro em 2025?
1
0
7
@necrorgans
anjo sabotado ༒︎
3 months
me contaram hj que uma pessoa anda aumentando a historia falando que eu soquei a pessoa kkkk primeiro que foi só um tapa que faz mó cota, segundo que se eu soubesse que seria assim eu teria dado era 3 socos no estomago pra aprender a parar de ser cabaç
2
0
2
@electrorion
orion 🌈🍉
1 day
On és que hem de portar el cabaç per recollir la pluja de milions que ens deixa el Mobile? 🤔 #MWC26 💸💸💸📲
0
0
0
@REMcycleskip_
Guilherme AMO MINHA NAMORADA da Silva
5 months
Você é cabaç e é incapaz de comer essa mina, n tem essa de preferir n
0
0
0
@DhulyaPeniche
Lya⭐️
8 months
A Gonul doida pra perder o cabaç* com o Miran 😂😂😂 esperou 3 anos e não rolou #HercaiAmorEVingança
2
1
4
@iaiopep
Pepito Grillo🇮🇱
11 months
@DavidGR1714 Per poder tindre accès a sanitat i educaciò han de viure a algun lloc, no? No es poden empadronar 5.900 immigrants en un centre esportiu. Això es un frau com un cabaç. I ha estat @orriolsderipoll qui ha destapat l' olla dels trons. Com farà amb moltes mes coses.
1
40
84
@emma_darms
timideetrespectueux
8 months
j’viens de demander du cabac tamel yellow au night
3
0
6
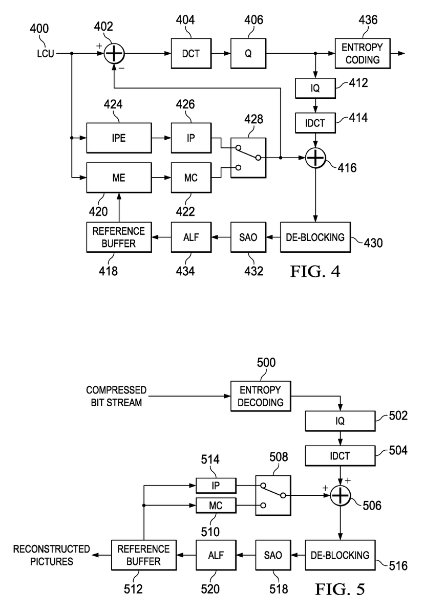
@PatentArtBot
Patent Bot
5 months
Reducing context coded and bypass coded bins to improve context adaptive binary arithmetic coding (CABAC) throughput Owned By: Texas Instruments Inc Patent Number: US9584802B2 https://t.co/BLfHJVLsic
1
0
0
@ResenhaPsc1914
ResenhaPsc1914
9 months
Tiraram o cabaç. dos Pirentos 😂
1
3
90